EasyManua.ls Logo

IBM System/360 65 - 2365 STORAGE PROTECT WORD FORMAT

IBM System/360 65
85 pages
Print Icon
To Next Page IconTo Next Page
To Next Page IconTo Next Page
To Previous Page IconTo Previous Page
To Previous Page IconTo Previous Page
Loading...
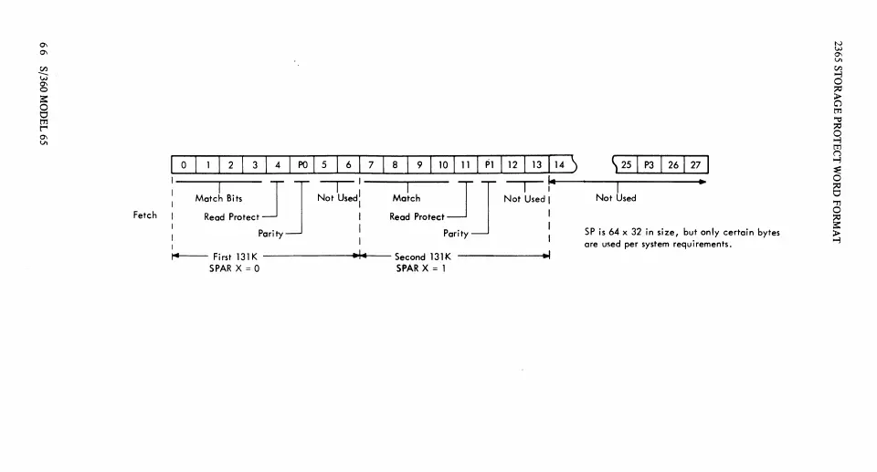
Fetch
I
1 I
I
11
Match
Bits
Read
Protect
Parity
~'
Not
Used
(
I
I
I 8 I 9 I
10
III
I
PI
112
113
114
)
I
JJ~I.
Match
Not
Used:
Read
Protect I
Parity I
~
First
131K
-------i-II4.--S
econ
d
131K
------.j
.. 1
SMRX=O
SMRX=1
\ 25 I
P3
I
26
I 27 I
I
Not
Used
SP
is
64
x
32
in
size,
but
only
certain bytes
are
u~ed
per
system
requirements.

Related product manuals