EasyManua.ls Logo

iClick Pro 3X - Camera Diagram and Identification; Front View Component Labels; Back View Component Labels

Default Icon
21 pages
Print Icon
To Next Page IconTo Next Page
To Next Page IconTo Next Page
To Previous Page IconTo Previous Page
To Previous Page IconTo Previous Page
Loading...
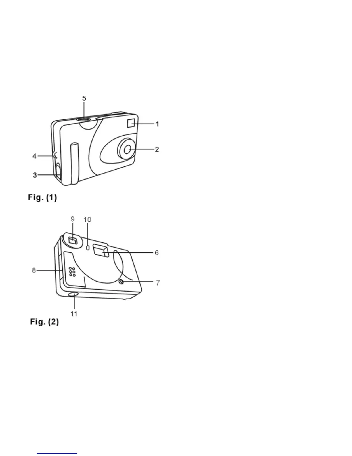
Camera Diagram
Front Side---Fig. 1
1. Viewfinder
2. Lens
3. Battery door
4. Hand strap lug
5. Shutter release button
Back Side---Fig. 2
6. Status LCD
7. Power button
8. USB port and its rubber cover
9. Viewfinder
10. Mode button
6

Related product manuals