EasyManua.ls Logo

Icom IC-M422 - Page 59

Icom IC-M422
64 pages
To Next Page IconTo Next Page
To Next Page IconTo Next Page
To Previous Page IconTo Previous Page
To Previous Page IconTo Previous Page
Loading...
53
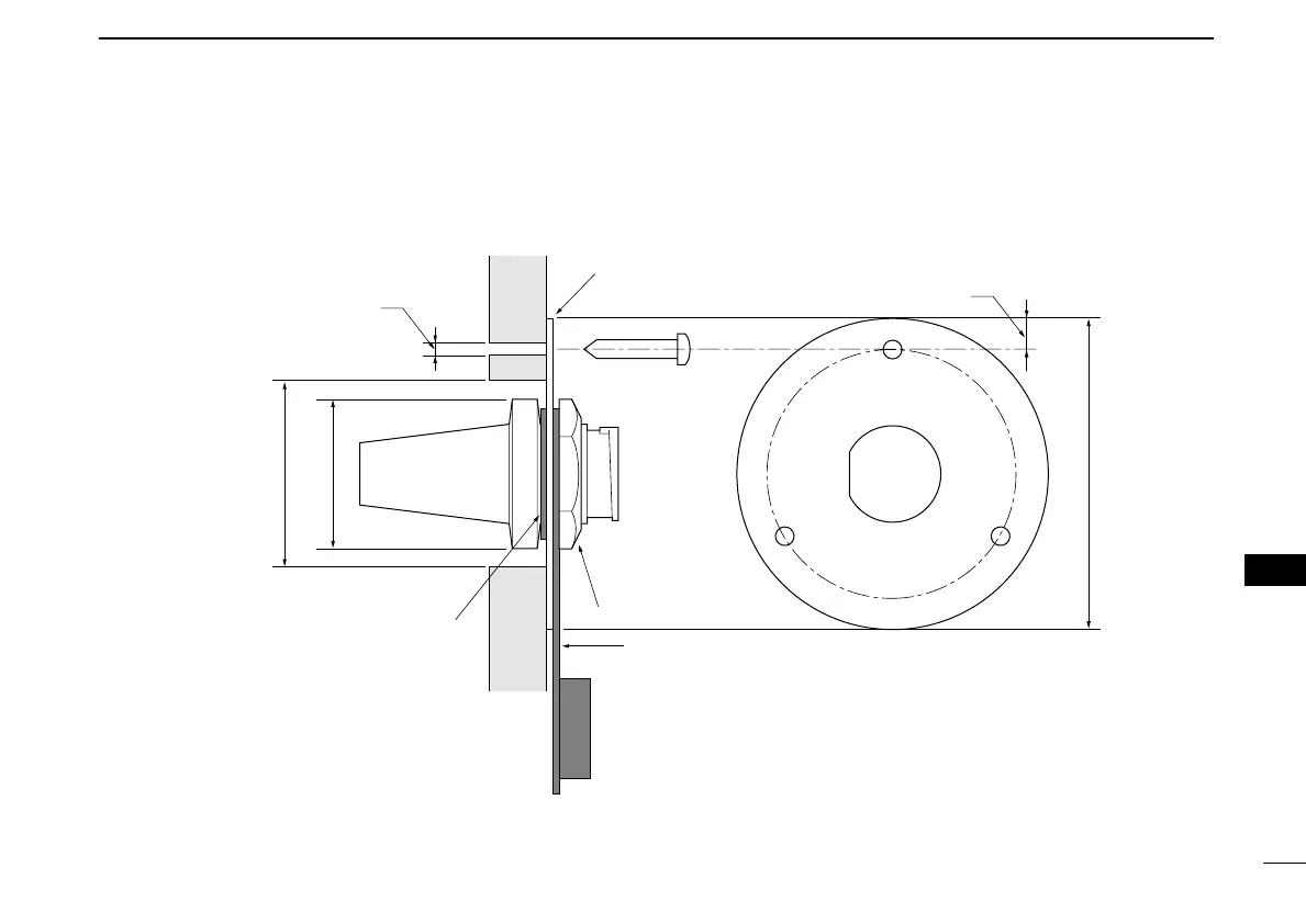
12
COMMANDMIC II HM-157
New2001
12
50 (d) mm; 1
31
32˝
23 (d) mm;
29
32˝
24 to 27 (d) mm
(
15
16 to 1
1
16˝)
5 mm;
3
16˝
Gasket
Mounting base
Cap
Nut
2 mm;
3
32˝
!IC-M422.qxd 05.2.23 2:21 PM Page 53 (1,1)

Table of Contents

Other manuals for Icom IC-M422

Related product manuals