EasyManua.ls Logo

Icom IC-R7100 - Page 46

Icom IC-R7100
71 pages
Print Icon
To Next Page IconTo Next Page
To Next Page IconTo Next Page
To Previous Page IconTo Previous Page
To Previous Page IconTo Previous Page
Loading...
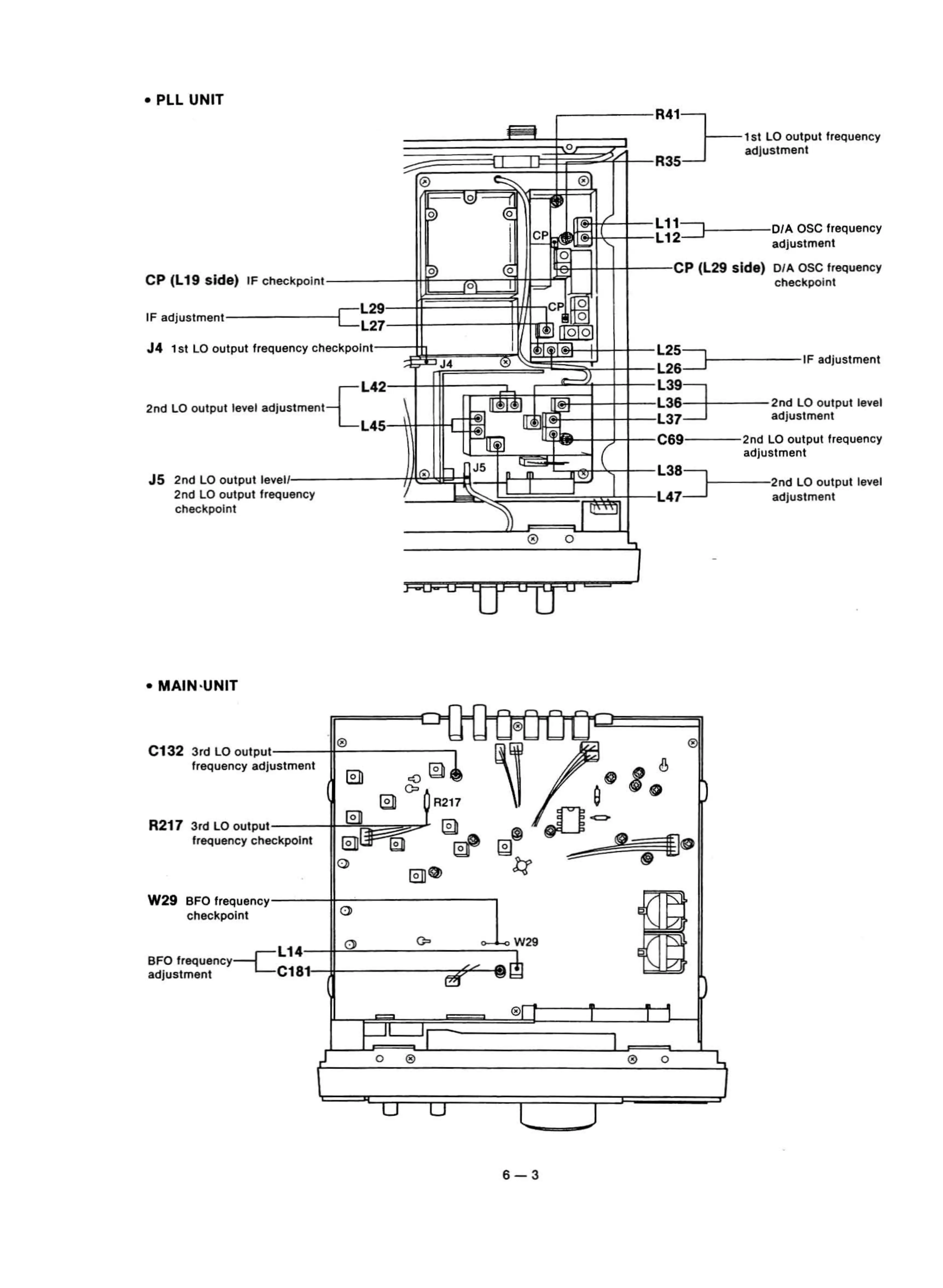
PLL UNIT
~---
-R41
---,
o
o
L38
=:J
'
__
r-
2nd LO output level
==~~
~
c1f--L47
adius
trnent
~~
'11
~-.'
sc..
--t
l-
_-
--t
g
=:J
f--
--O
/A
ose
lr
equency
I
F
~
~
adjustment
o
o
J4
o
o
J5
2nd
LO
output
levelll
--
---
--f,~
:
::=
:e~j
2nd
LO
output frequency
~
checkpoint
J4
1st LO output frequency checkPol
nt-
-
il5j4
_ _
(';:~
~~
t
~==
L 2
5--',
_
;:
~
L26
~
IF
adjustment
2nd
LO output level adjustment
=---j
-
+-I--L37
adl
ustment
L45i--'
\\t-
-t
>-+-
++
-C69
2nd LO output frequency
d:::-'1
adjustment
MAIN·UNIT
e
C132
3rd
LO output
frequency adjust
me
nt
Ell
~
3
Q
8
<{)
Co
a
R217
R217 3rd
LO
output
~
[gJ@
frequency checkpoint
~
!EO
'"
~
11
@]IQ>
W29
BFO
frequency
checkpoint
0>
0>
W29
--e
L14
BFO frequency
a
uj
ustmen
t C181
o
® 0
6-
3

Other manuals for Icom IC-R7100

Related product manuals