EasyManua.ls Logo

ICON DPC1 - Installation - TRANSFER

ICON DPC1
44 pages
Print Icon
To Next Page IconTo Next Page
To Next Page IconTo Next Page
To Previous Page IconTo Previous Page
To Previous Page IconTo Previous Page
Loading...
BIA-DPC1 rev 4 Page 27
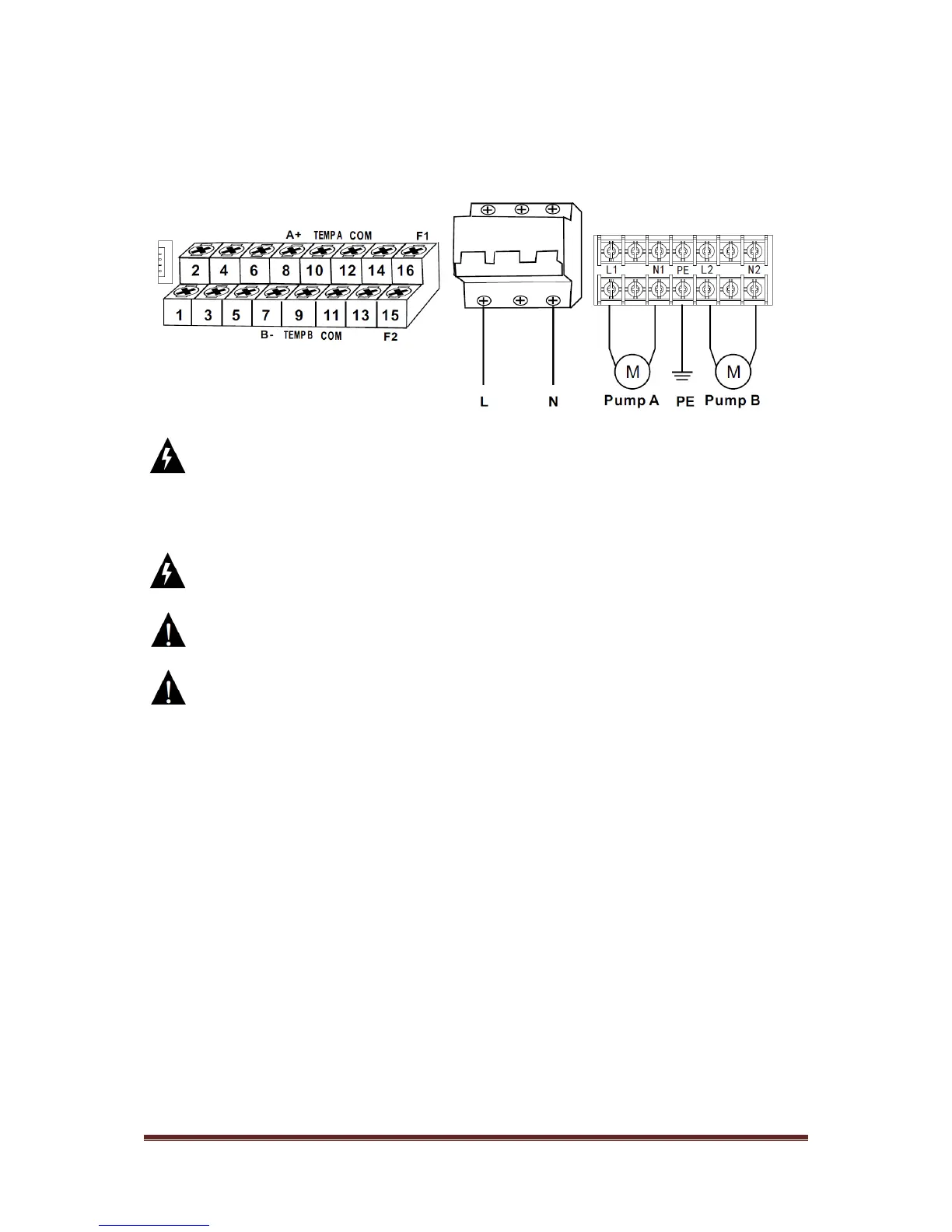
4.0 Installation TRANSFER
4.1 Electrical connection to the power supply and pump
DANGER. Electric shock risk.
Before carrying out any installation or maintenance operation, the control panel should be disconnected from
the power supply and one should wait at least 2 minutes before opening the control panel.
Never connect AC power to output L and N terminals.
Ensure the motor, controller and power specifications match.
The electrical and hydraulic connections must be carried out by competent, skilled, qualified personnel.
Main Circuit Breaker

Table of Contents