EasyManua.ls Logo

ICON WEIDER POWER TOWER - Page 8

ICON WEIDER POWER TOWER
16 pages
Print Icon
To Next Page IconTo Next Page
To Next Page IconTo Next Page
To Previous Page IconTo Previous Page
To Previous Page IconTo Previous Page
Loading...
8
22
22
20
1
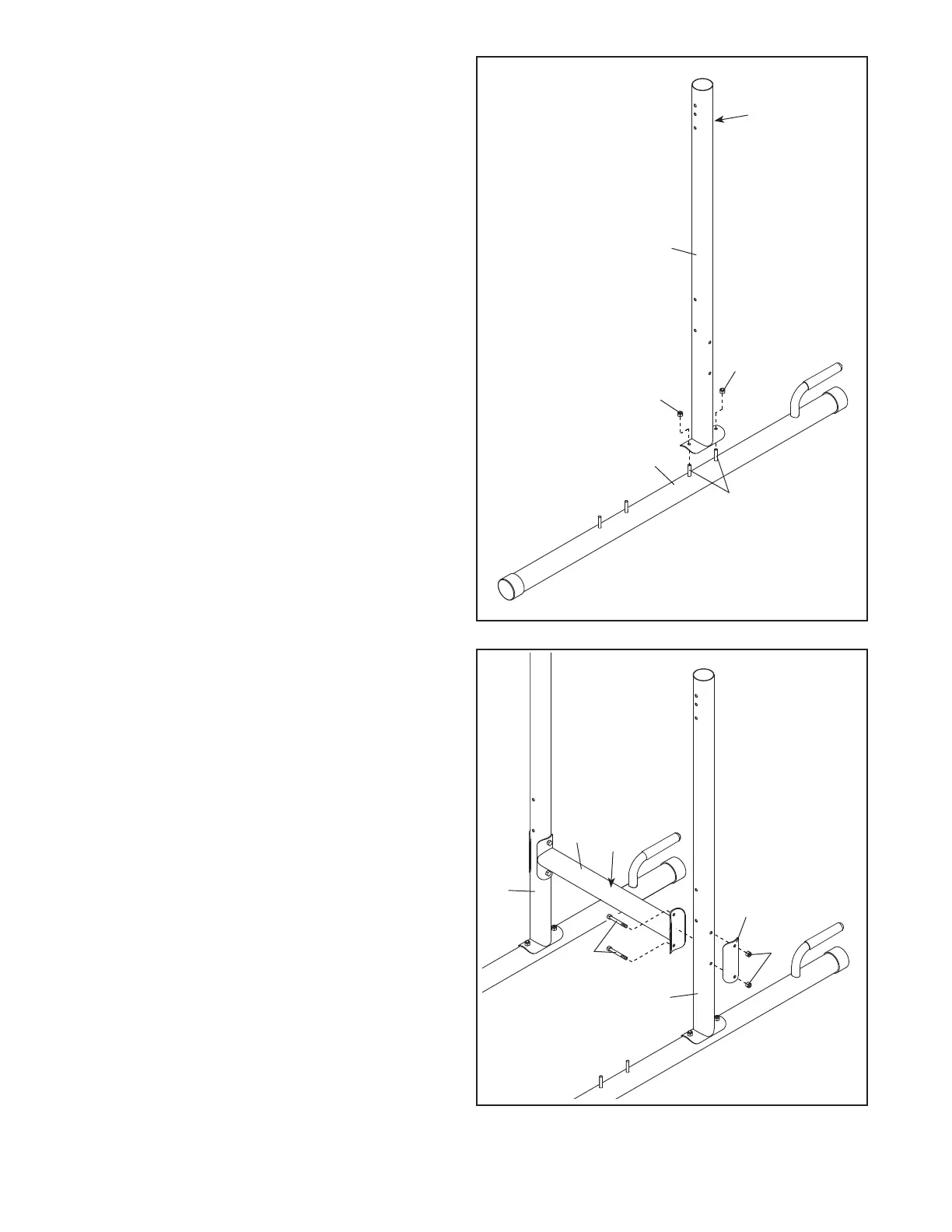
4. Orient the Bottom Crossbar (10) so that the
warning decal (B) is on top.
Attach the Bottom Crossbar (10) to one of the
Uprights (2) with two M8 x 77mm Bolts (28), a
Support Plate (13), and two M8 Locknuts (22);
do not tighten the Locknuts yet.
Attach the Bottom Crossbar (10) to the other
Upright (2) in the same way.
3
2
A
3. Orient one of the Uprights (2) and one of the
Bases (1) as shown; make sure that the
hexagonal holes (A) are on the indicated side
of the Upright.
Attach the Upright (2) to the Base (1) with the
two indicated M8 x 68mm Carriage Bolts (20)
and two M8 Locknuts (22); do not tighten the
Locknuts yet.
Attach the other Upright (not shown) to the
other Base (not shown) in the same way.
28
2
10
2
13
22
B
4

Related product manuals