EasyManua.ls Logo

IFM Electronic efector180 IX5010 - Page 15

IFM Electronic efector180 IX5010
Print Icon
To Next Page IconTo Next Page
To Next Page IconTo Next Page
To Previous Page IconTo Previous Page
To Previous Page IconTo Previous Page
Loading...
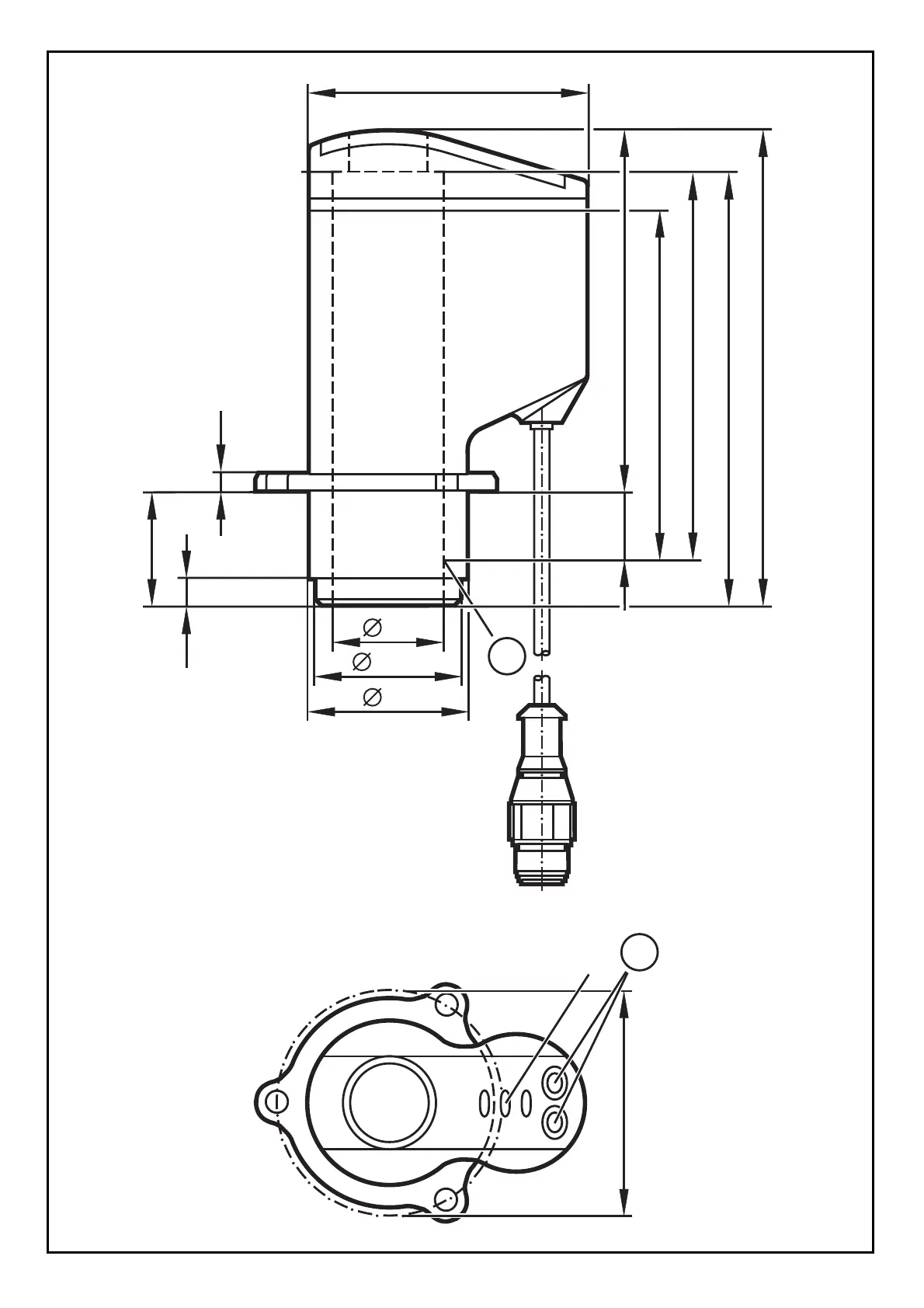
15
65
83,5
110
99,6
26
80
88,6
34,8
38
6,2
4,5
26,5
15,5
(1)
(2)
3
52
3 LED
4
1) Meßdistanz
2) max. Spindelhub
3) Meßbereichsanfang
(Nullpunkt)
4) Programmiertasten
Maßzeichnung

Related product manuals