EasyManua.ls Logo

IHI IC75 - Monitor Panel Indicators

Default Icon
106 pages
Print Icon
To Next Page IconTo Next Page
To Next Page IconTo Next Page
To Previous Page IconTo Previous Page
To Previous Page IconTo Previous Page
Loading...
CONTROLS
IC75 ENG 2-3
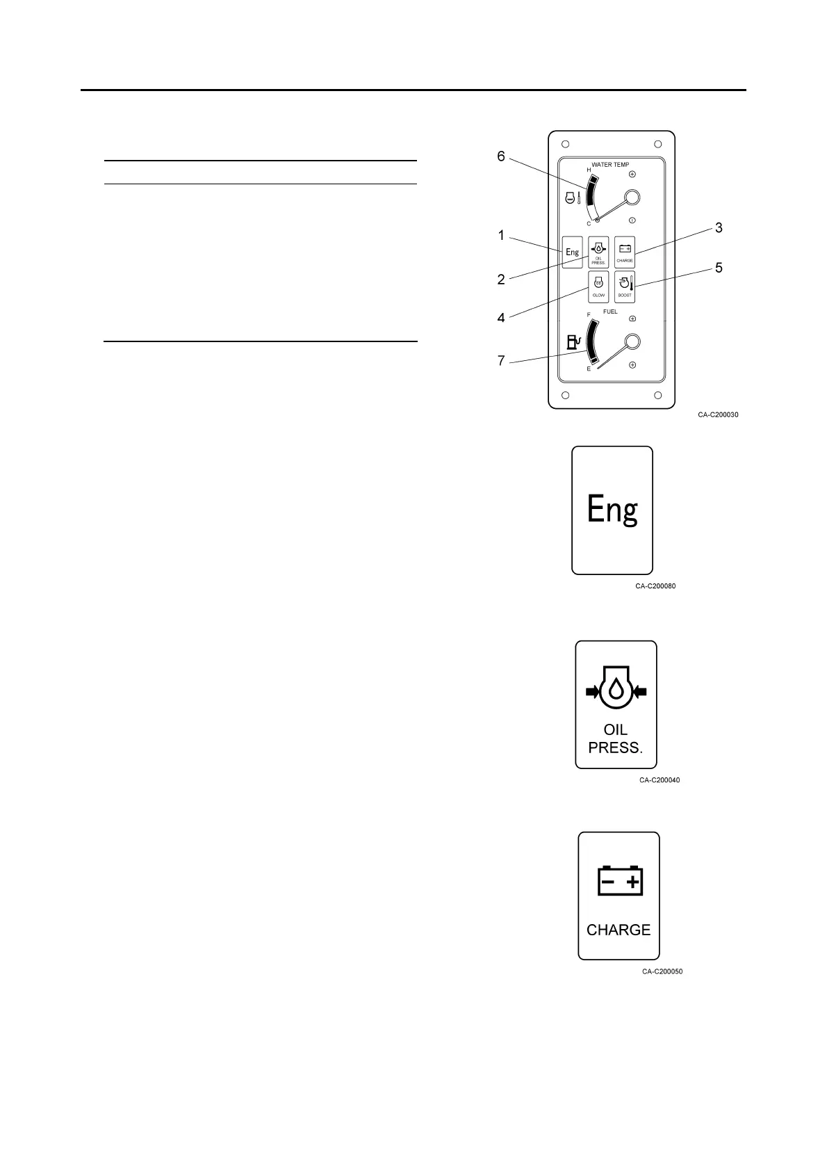
Monitor panel
No. Name
1 Engine system warning lamp
2 Engine oil pressure warning lamp
3 Charge warning lamp
4 Glow (preheat) lamp
5 Inlet air temperature warning lamp
6 Water temperature gauge
7 Fuel level gauge
Engine system warning lamp
This lamp goes on if the engine system is defective.
Ask IHI’s sales service dealer for repair services.
Engine oil pressure warning lamp
This lamp goes on if the pressure of oil for lubricating the
inside of the engine drops while the engine is running.
Stop the engine and check the engine oil system and oil
level if the lamp goes on while the engine is running.
Charge warning lamp
This lamp goes on if an error occurs in the charge system
while the engine is running.
If it goes on while the engine is running, the fan belt may
be slack.
Stop the engine and check the tension of the fan belt.

Table of Contents