EasyManua.ls Logo

IHI IC75 - Lubricate the Grease; Body; Oscillating Link; Control Lever

Default Icon
106 pages
Print Icon
To Next Page IconTo Next Page
To Next Page IconTo Next Page
To Previous Page IconTo Previous Page
To Previous Page IconTo Previous Page
Loading...
MAINTENANCE
IC75 ENG 4-7
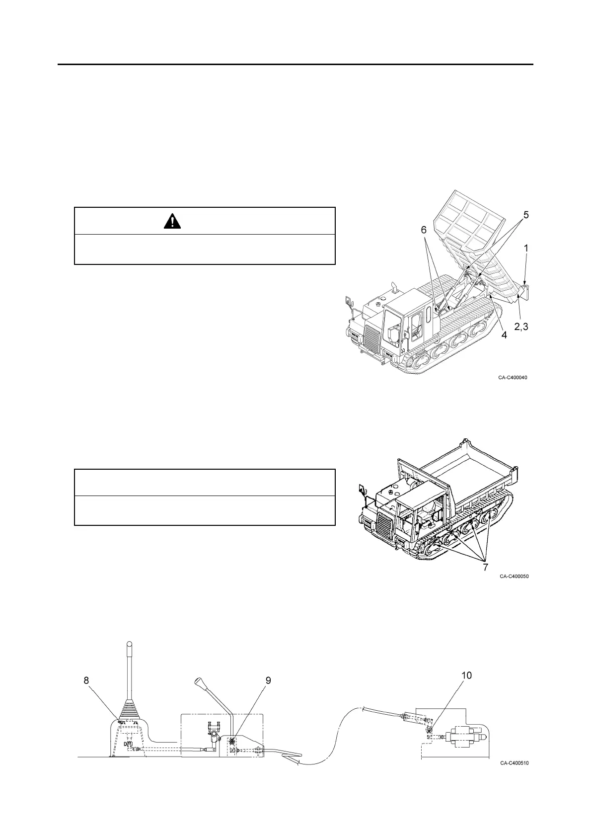
LUBRICATE THE GREASE
Refill the grease nipples with grease using a grease gun.
Remove oozed old grease after refilling.
Body
WARNING
Be sure to set the safety bars under the body when
lubricating with the body raised.
Hinge pins of the body rear gate (1) 2 positions
Lock pins of the body rear gate (2) 2 positions
Control springs of the body rear gate (3) 2 positions
Body joint pins (4) 2 positions
Dump cylinder rod pins (5) 2 positions
Dump cylinder foot pins (6) 2 positions
Oscillating link
Oscillating link pins (7) 8 positions
IMPORTANT
Grease the link pins everyday before starting works
if the machine is used on damp grounds or in mud.
Control lever
Foot pin of the travel lever (8) 1 position
Foot pin of the dump lever (9) 1 position
Link pin of dump lever linkage (10) 1 position

Table of Contents