EasyManua.ls Logo

Infiniton CMPTRAL-A64B - Page 25

Infiniton CMPTRAL-A64B
Print Icon
To Next Page IconTo Next Page
To Next Page IconTo Next Page
To Previous Page IconTo Previous Page
To Previous Page IconTo Previous Page
Loading...
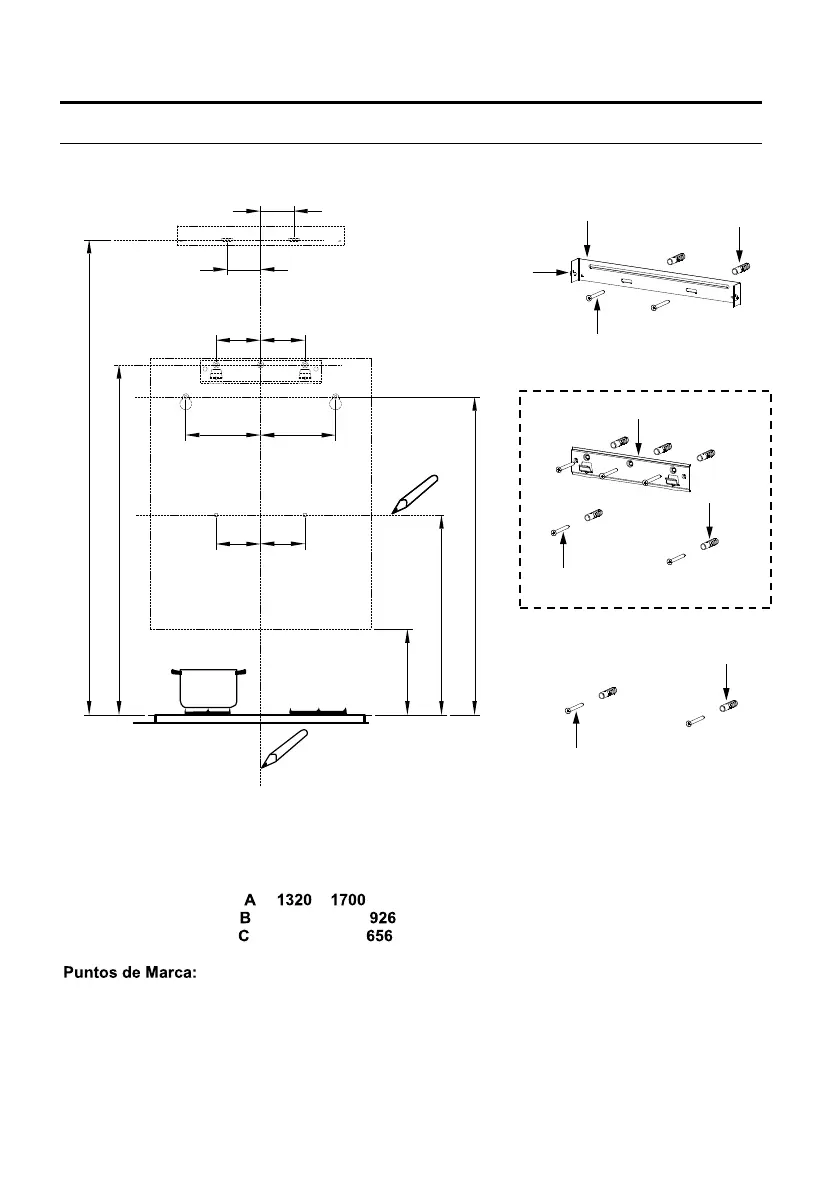
INSTALAÇÃO
PAREDE DE BROCAS E APOIO DE FIXAÇÃO
60
21
11
(1)
A
12
10
Opcional
11
10
Uma linha vertical até o teto ou até o limite superior, no centro da área em que o capô será
instalado.
Uma linha horizontal de mm acima do topo.
com um mínimo
Uma linha horizontal
Uma linha horizontal
com um mínimo
(868 opcional)mm no mínimo por
mm acima do topo.
Marque um ponto (1) na linha horizontal A, 60 mm à direita da linha de referência
vertical.
Repita esta operação no outro lado, verifique se ambas as marcas estão niveladas.
Marque um ponto (2) na linha horizontal B, 80 (135 opcional) mm à direita da linha de
referência vertical.
Repita esta operação no outro lado e na linha de referência vertical, verificando se as três
marcas estão niveladas.
1320
926
- 1700
500
656
868
20
11
10
60
80
80
B
(2)
B
(OPCIONAL)
C
135 135
(3)
80 80
acima do topo
Como primeiro passo, proceda de acordo com os seguintes desenhos:
PT-5

Related product manuals