EasyManua.ls Logo

InFocus LP725 - Page 17

InFocus LP725
66 pages
Print Icon
To Next Page IconTo Next Page
To Next Page IconTo Next Page
To Previous Page IconTo Previous Page
To Previous Page IconTo Previous Page
Loading...
14
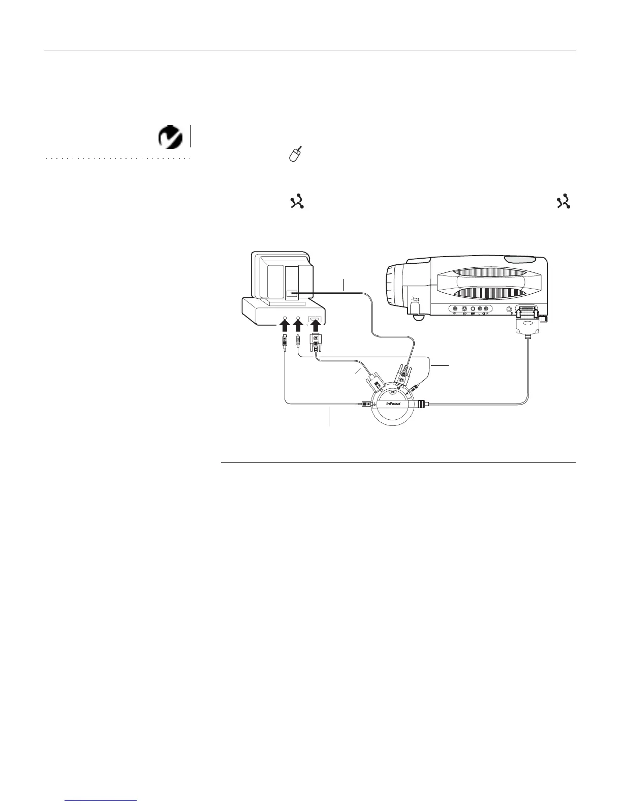
Setting up the Projector
Do you want to control your computer’s mouse from the projector’s
remote or keypad?
1
Unplug the mouse cable from your computer.
NOTE: You cannot use your
computer’s mouse and the
projector’s remote at the same
time.
2
Plug the end of the CableWizard mouse cable into the
mouse connector on your computer.
3
Plug the end of the CableWizard mouse cable into the
connector on the CableWizard.
FIGURE 13
Connecting the CableWizard monitor, audio and mouse cables to an IBM-compatible
desktop computer
Now you’re ready to power up the projector and your computer.
Skip to “Powering up the Projector and Adjusting the Image” on
page 21.
audio cable
computer cable
mouse cable
monitor cable

Other manuals for InFocus LP725

Related product manuals