EasyManua.ls Logo

Integra DTR-50.3 - Video Signal Flow and Audio Formats

Integra DTR-50.3
100 pages
Print Icon
To Next Page IconTo Next Page
To Next Page IconTo Next Page
To Previous Page IconTo Previous Page
To Previous Page IconTo Previous Page
Loading...
89
En
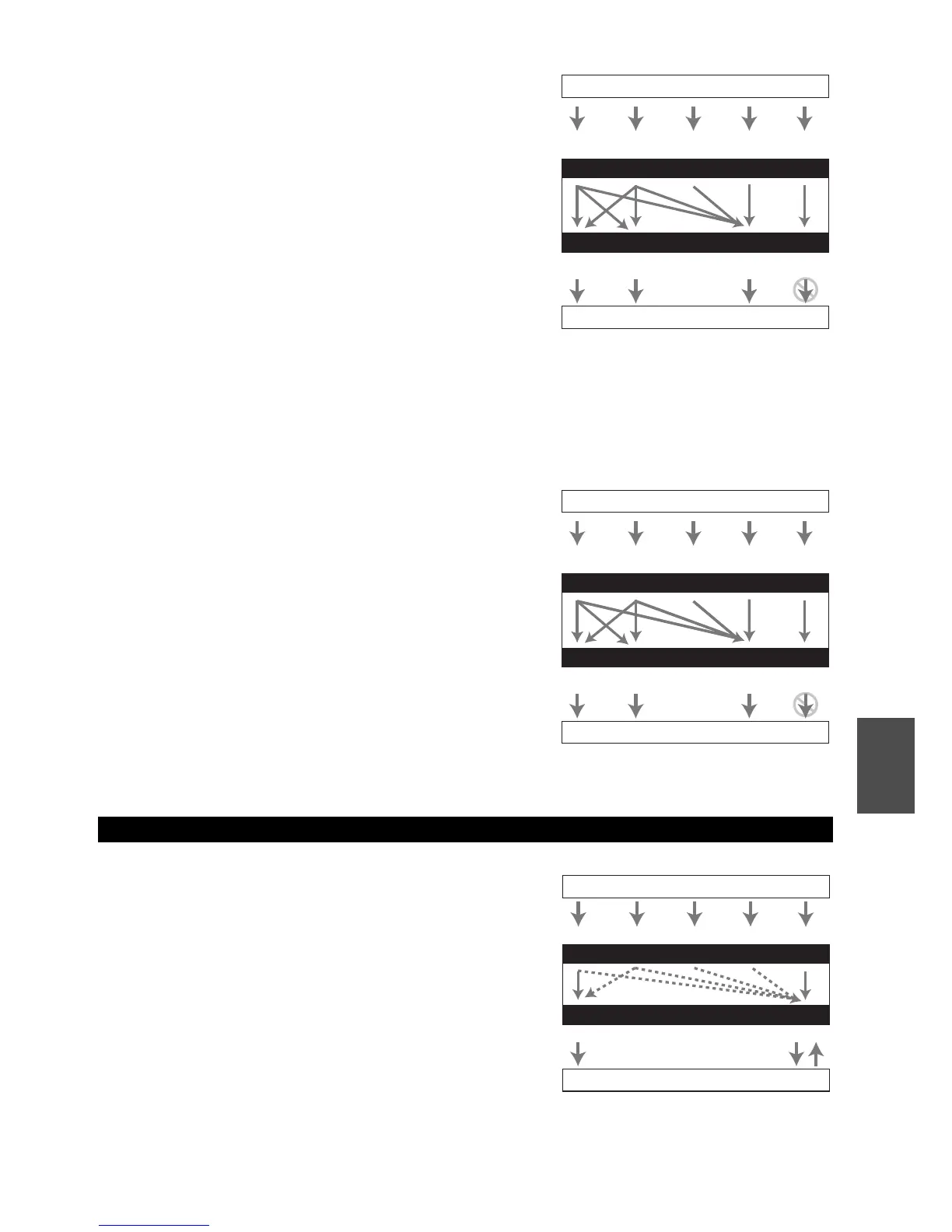
“Monitor Out” set to “Analog”
Video input signals flow through the AV receiver as shown,
with composite video, S-Video, and PC IN (Analog RGB)
sources being upconverted for the component video output.
Use this setting if you connect the AV receiver’s
COMPONENT VIDEO MONITOR OUT to your
TV.Composite video is upconverted to S-Video and S-
Video is downconverted to composite video. Note that these
conversions only apply to the MONITOR OUT V and S
outputs, not the VCR/DVR OUT V and S outputs.
The composite video, S-Video and component video outputs
pass through their respective input signals as they are.
This signal flow also applies when the “Resolution” setting
is set to “Through” ( page 45).
Video Signal Flow and the Resolution Setting
When the “Monitor Out” setting is set to “Analog
( page 44), if the “Resolution” setting is set to anything
other than “Through” ( page 45), the video signal flow
will be as shown here, with composite video, S-Video, and
PC IN (Analog RGB) sources being upconverted for the
component video output.
The composite video, S-Video, and component video
outputs pass through their respective analog input signals as
they are. HDMI input signals are not output.
Audio components can be connected by using any of the
following audio connection formats: analog, analog
multichannel, optical, coaxial or HDMI.
When choosing a connection format, bear in mind that the
AV receiver does not convert digital input signals for analog
line outputs and vice versa. For example, audio signals
connected to an optical or coaxial digital input are not output
by the analog VCR/DVR OUT.
If signals are present at more than one input, the inputs will
be selected automatically in the following order of priority:
HDMI, digital, analog.
Audio Connection Formats
IN
MONITOR OUT
*
1
AV receiver
Composite
Composite S-Video Component
Video Signal Flow Chart
HDMI
HDMI
TV, projector, etc
Blu-ray Disc/DVD player, etc.
S-Video Component
PC IN
(Analog RGB)
*1
For details, refer to “Video Resolution Chart”
( page 90).
IN
MONITOR OUT
IN
MONITOR OUT
AV receiver
Composite
Composite S-Video Component
Video Signal Flow Chart
HDMI
HDMI
TV, projector, etc
Blu-ray Disc/DVD player, etc.
S-Video Component
PC IN
(Analog RGB)
IN
OUT
*
1
*
2
*
1
*
1
*
1
*
3
*
1
*
3
Blu-ray Disc/DVD player, etc.
AV receiver
TV, projector, etc.
HDMICoaxial Analog
Audio Signal Flow Chart
HDMI Analog
Optical
*1
Depends on the “Audio TV Out” setting ( page 61).
*2
This is possible when “Audio Return Channel” is set to
Auto” ( page 61), the TV/CD input selector is selected,
and your TV is ARC capable.
*3
Only the front L/R channels are output.
Multichannel

Table of Contents

Related product manuals