EasyManua.ls Logo

Integra DTR-6.9 - Page 23

Integra DTR-6.9
140 pages
Print Icon
To Next Page IconTo Next Page
To Next Page IconTo Next Page
To Previous Page IconTo Previous Page
To Previous Page IconTo Previous Page
Loading...
23
Connecting the AV Receiver—Continued
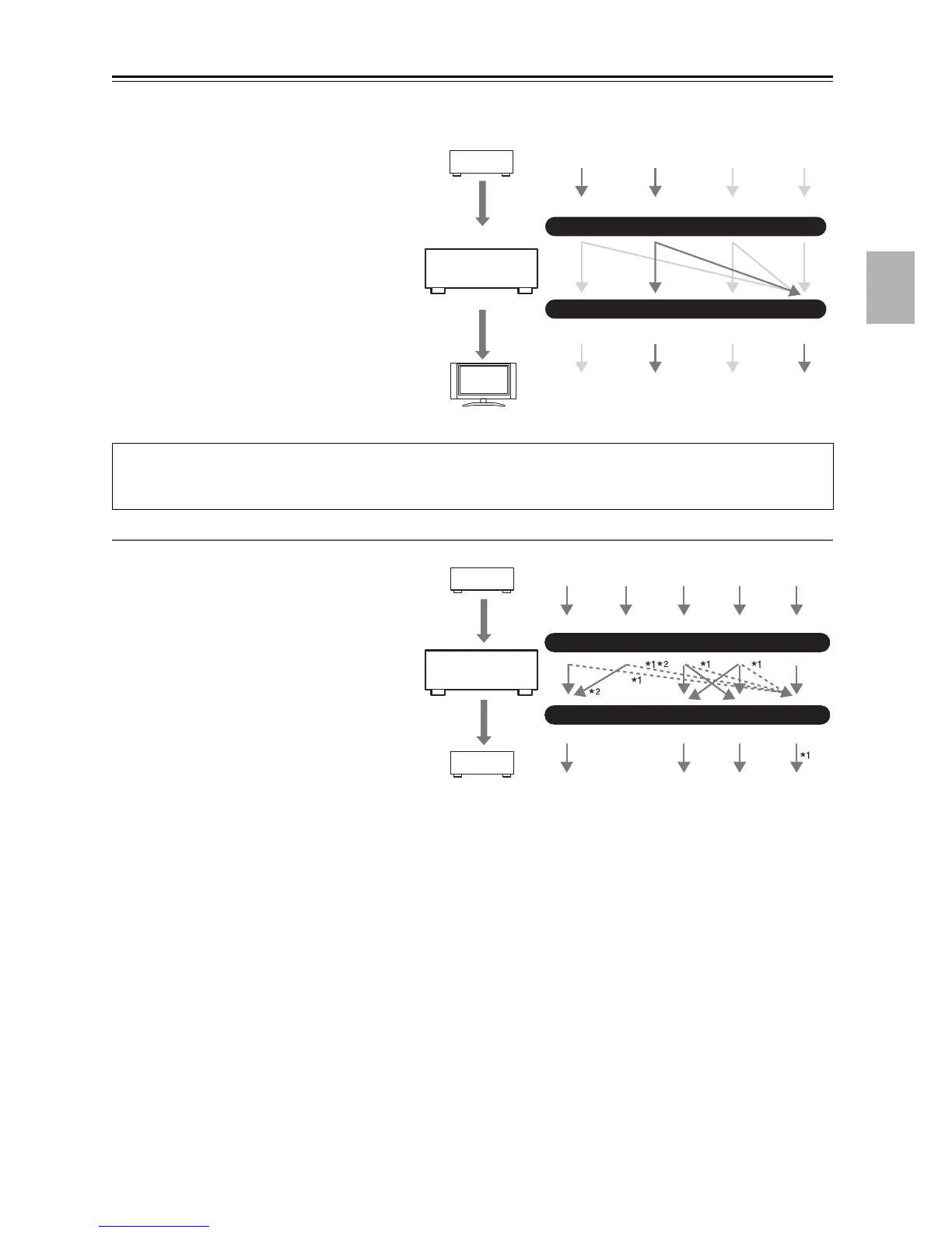
Signal Selection
If signals are present at more than one input, the
inputs will be selected automatically in the fol-
lowing order of priority: HDMI, component
video, S-Video, composite video.
In the Signal Selection Example shown on the
right, video signals are present at both the S-
Video and composite video inputs, however, the
S-Video signal is automatically selected as the
source and video is output by the S-Video and
HDMI outputs.
Audio Connection Formats
Audio equipment can be connected to the AV
receiver by using any of the following audio con-
nection formats: analog, optical, coaxial, analog
multichannel, or HDMI.
When choosing a connection format, bear in
mind that the AV receiver does not convert digital
input signals for analog line outputs and vice
versa. For example, audio signals connected to
an optical or coaxial digital input are not output
by the analog TAPE OUT.
If signals are present at more than one input, the inputs will be selected automatically in the following order of priority:
HDMI, digital, analog (including multichannel). You can specify which audio inputs the AV receiver checks for the
presence of a signal in the “Automatic Audio Input Selection Setup” on page 112.
The onscreen setup menus appear only on a TV that is connected to the HDMI OUT. If your TV is connected to the
composite video or S-Video MONITOR OUT, or the COMPONENT VIDEO MONITOR OUT, use the AV receiver’s
display when changing settings.
IN
MONITOR OUT
DVD player, etc.
AV receiver
TV, projector, etc.
Composite
Composite
S-Video
S-Video
Component
Component
Signal Selection Example
HDMI
HDMI
IN
OUT
DVD player, etc.
AV receiver
MD recorder, etc.
HDMICoaxial Analog
Audio Signal Flow Chart
Multichannel
Analog
Optical
*1 Depends on the “Audio TV Out” setting
(see page 109).
*2 Only the front L/R channels are output
(There will be no down mix.).
Coaxial
Optical Coaxial HDMI

Table of Contents

Other manuals for Integra DTR-6.9

Related product manuals