EasyManua.ls Logo

Invacare Bed Rails - Standard Telescope Bed Rails 6623; Illustration and Part Identification

Invacare Bed Rails
33 pages
Print Icon
To Next Page IconTo Next Page
To Next Page IconTo Next Page
To Previous Page IconTo Previous Page
To Previous Page IconTo Previous Page
Loading...
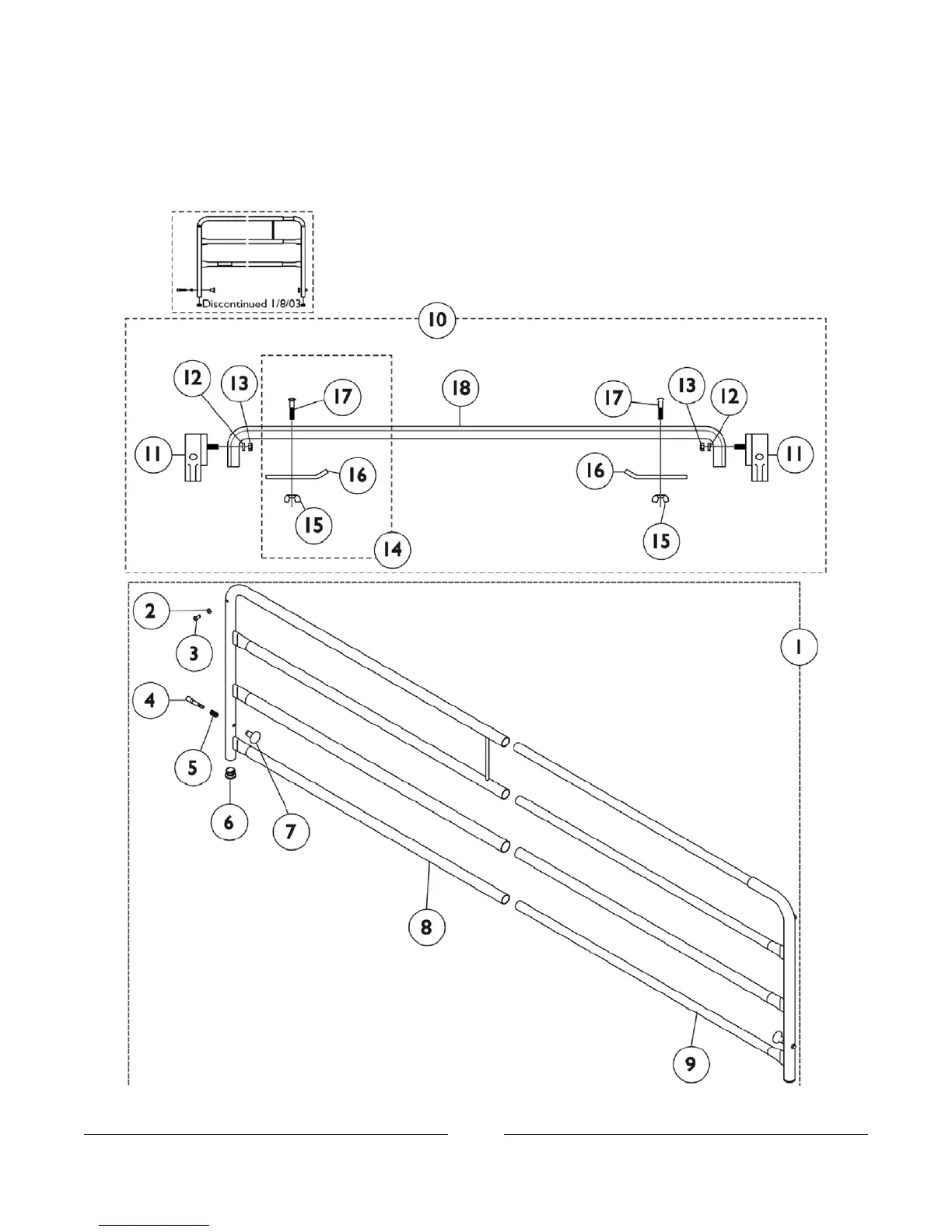
Standard Telescope Bed Rails
6623
This Model was discontinued 1/8/03
9
To order call toll free 1-800-333-6900, or www.invacare.com
Form No. 92-048

Related product manuals