EasyManua.ls Logo

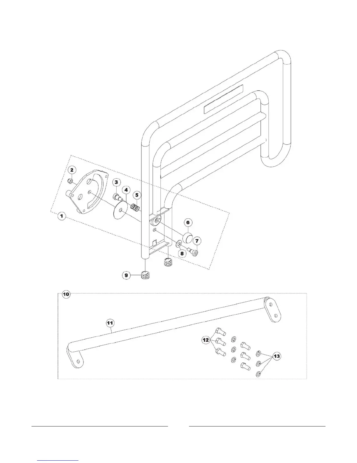
Invacare Bed Rails - Half Length Assist Rail - 6632; Illustration for 6632 Assist Rail

Invacare Bed Rails
33 pages
Print Icon
To Next Page IconTo Next Page
To Next Page IconTo Next Page
To Previous Page IconTo Previous Page
To Previous Page IconTo Previous Page
Loading...
Half Length Assist Rail - 6632
25
To order call toll free 1-800-333-6900, or www.invacare.com
Form No. 92-048

Related product manuals