EasyManua.ls Logo

Isolite E3MINI Series - Knockout Locations

Isolite E3MINI Series
32 pages
Print Icon
To Next Page IconTo Next Page
To Next Page IconTo Next Page
To Previous Page IconTo Previous Page
To Previous Page IconTo Previous Page
Loading...
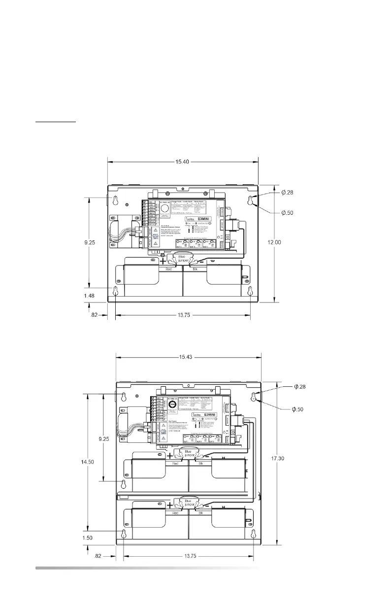
3.4.3 Knockout Locations
Electrical Knock Outs are provided on three surfaces of the E3MINI Series.
Ensure all metal conduit is secured and tightened creating a good connection to
earth ground. Use an Ohm-Meter to check that continuity between conduit and
protective earth ground has been established.
WARNING Drilling into cabinet may void warranty if metal filings causes unit
failure.
Wall-Mount Hole Locations E3MINI Series 125W
Wall-Mount Hole Locations E3MINI Series 250W
6 | INSTALLATION / OPERATION MANUAL

Related product manuals