EasyManua.ls Logo

Jack JK-8995 - Bobbin Winder Components

Default Icon
92 pages
Print Icon
To Next Page IconTo Next Page
To Next Page IconTo Next Page
To Previous Page IconTo Previous Page
To Previous Page IconTo Previous Page
Loading...
~,i:_,~~m
flf:
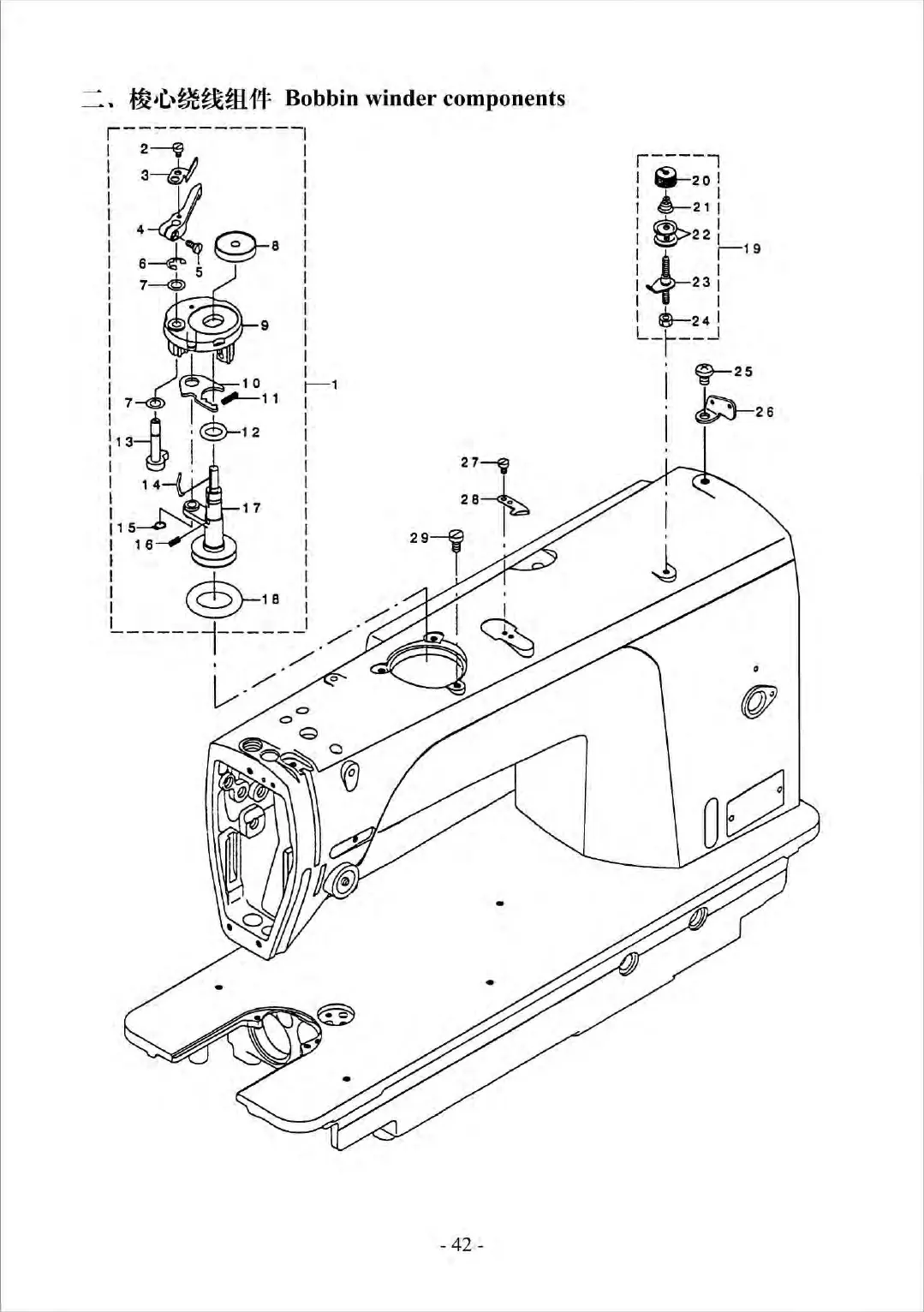
Bobbin winder components
r------------
1
2~
:
3-#
i
·i@·
16~~
I
1----<6:>
I
I
I 9
I
I 1 o
I~
:
7_}
I
-"
:
~
·©--12
i
13
I
I ,
I
I
:15~
I 1 6
1 7
r--1
I
I
I
I
I
I
I
I
I
I
l
@--:
I 1 e :
I I
L_
_____
,______
/
' ./
~
-
/
0
0
0
G
27~
28~
..
1
I
- 42 -
r----,
I
f.it---20
I
I
l..
I
I
~211
I~
I
I
~221
14-
119
I I
I
23 I
I I
I
9--24
I
L_r
__
.J
r25
~26

Table of Contents

Related product manuals