EasyManua.ls Logo

Jack JK-8995 - Thread Trimmer Components

Default Icon
92 pages
Print Icon
To Next Page IconTo Next Page
To Next Page IconTo Next Page
To Previous Page IconTo Previous Page
To Previous Page IconTo Previous Page
Loading...
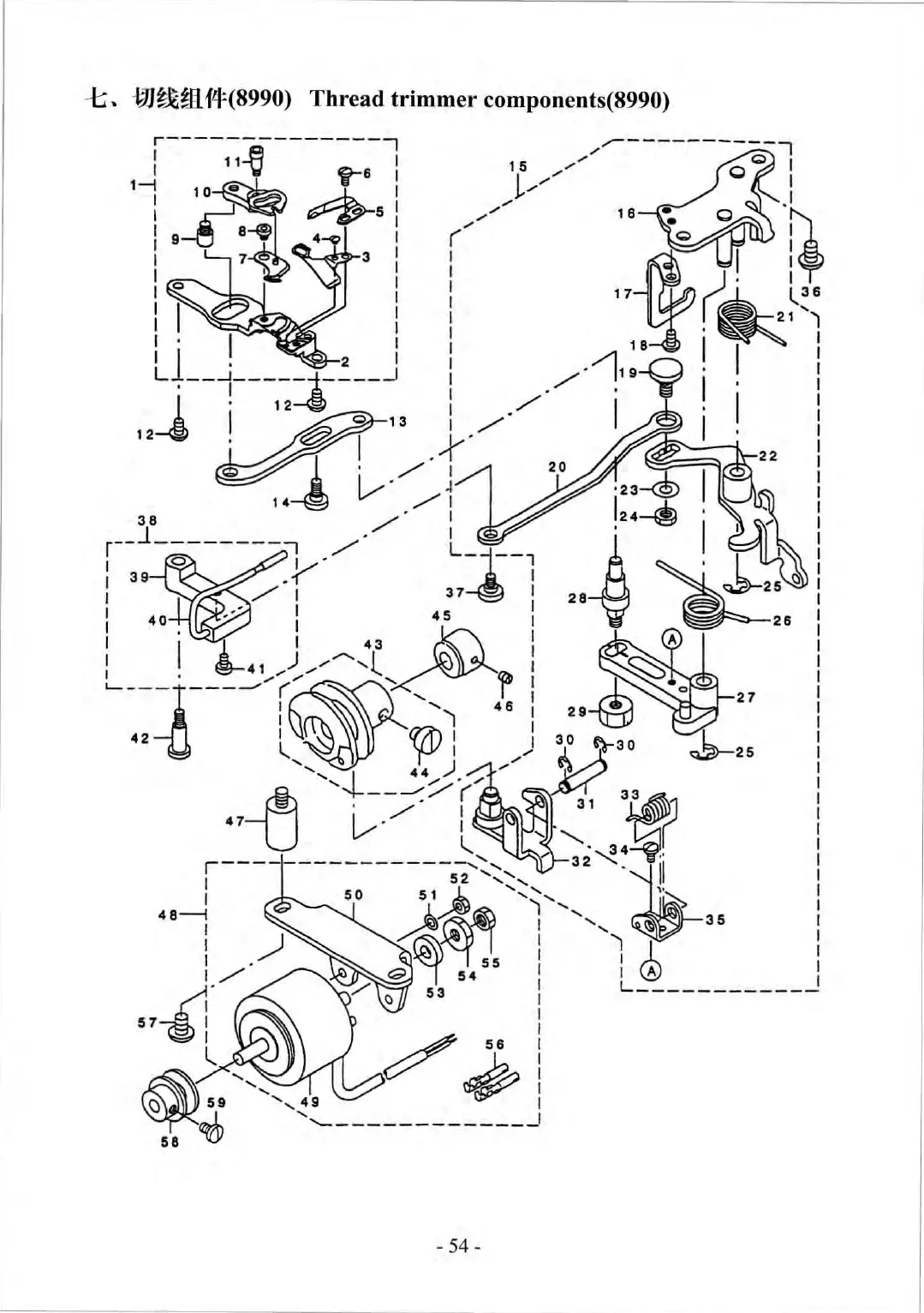
-1:;,
-l?JJ~ttl.
1lf:(8990)
Thread
trimmer
components(8990)
38
.
28~
27
- 54 -

Table of Contents

Related product manuals