EasyManua.ls Logo

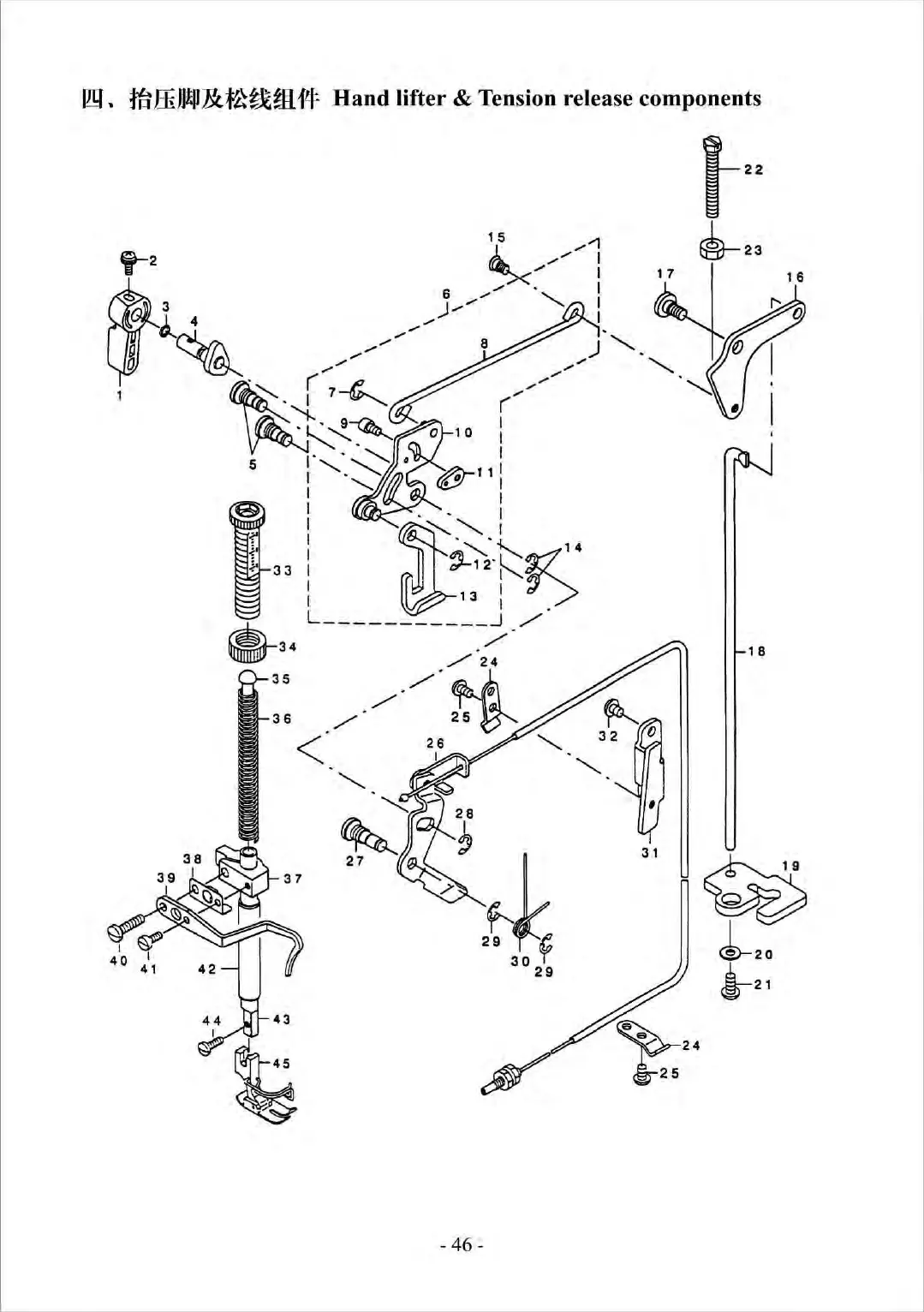
Jack JK-8995 - Hand Lifter & Tension Release Components

Default Icon
92 pages
Print Icon
To Next Page IconTo Next Page
To Next Page IconTo Next Page
To Previous Page IconTo Previous Page
To Previous Page IconTo Previous Page
Loading...
Im,
faffiJJifJ&t~~m_
1lf:
Hand
lifter & Tension release components
.34
- 46 -
1 8
~
~20
~21

Table of Contents

Related product manuals