EasyManua.ls Logo

Jack JK-8995 - Auto Lifter Components

Default Icon
92 pages
Print Icon
To Next Page IconTo Next Page
To Next Page IconTo Next Page
To Previous Page IconTo Previous Page
To Previous Page IconTo Previous Page
Loading...
+
~
-.
~
i;IJfa
ffiJJt.Pm
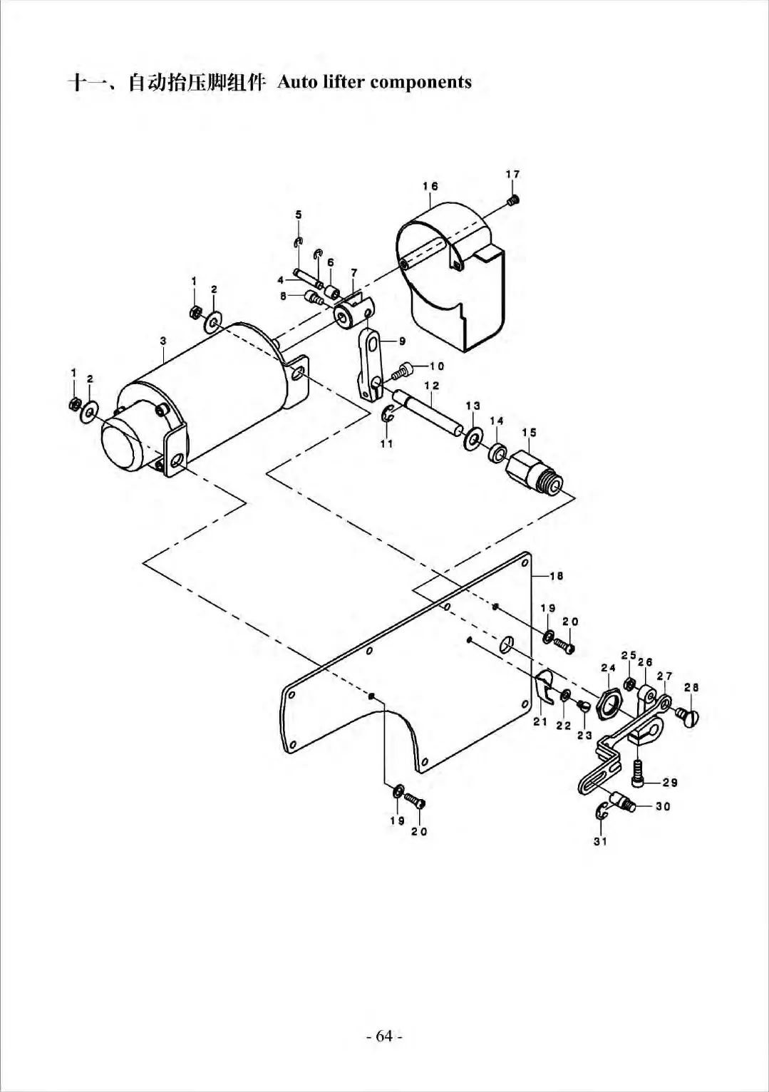
1lf:
Auto lifter components
17
- 64 -

Table of Contents

Related product manuals