EasyManua.ls Logo

Jack JK-8995 - Page 60

Default Icon
92 pages
Print Icon
To Next Page IconTo Next Page
To Next Page IconTo Next Page
To Previous Page IconTo Previous Page
To Previous Page IconTo Previous Page
Loading...
/
~,
i2i*1
&
fIJ~OOl;bm.
1lf:
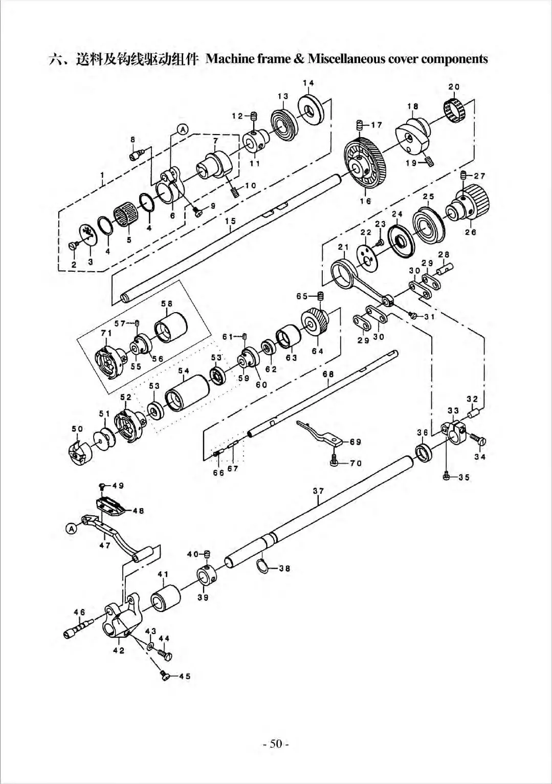
Machine frame & Miscellaneous cover components
43
Ji..
44
-~
'\
tr4s
39
- 50 -
~69
L7o
~
34
35

Table of Contents

Related product manuals