EasyManua.ls Logo

Jandy LG250 - Pressure Relief Valve; Auxiliary Components, Chlorinators, Ozone Generators, and Sanitizing Chemicals; Electrical

Jandy LG250
40 pages
Print Icon
To Next Page IconTo Next Page
To Next Page IconTo Next Page
To Previous Page IconTo Previous Page
To Previous Page IconTo Previous Page
Loading...
Page 16
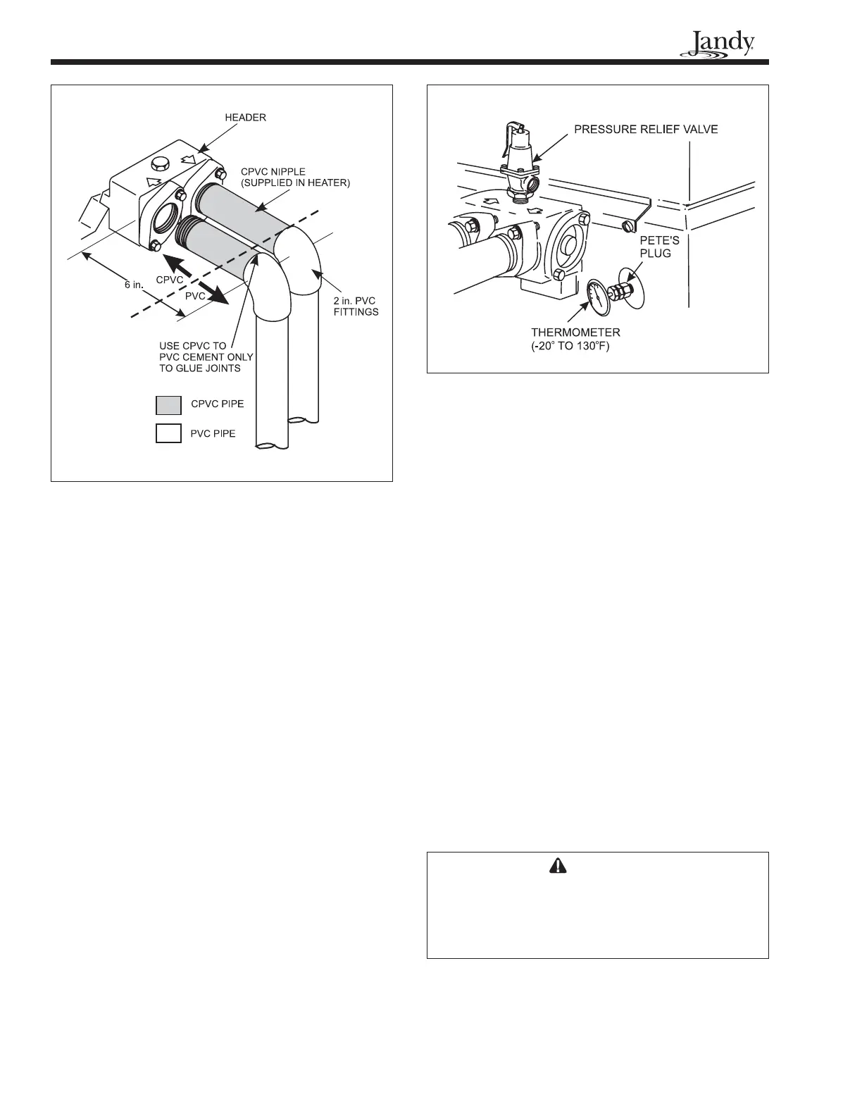
5.6 Pressure Relief Valve
A pressure relief valve (PRV) is recommended in
all installations and is mandatory in any installation in
which the water flow can be shut off between the
heater outlet and the pool/spa.
A pressure relief valve is not supplied with the
heater. However, it may be required by local codes.
The pressure rating of the valve should be at or below
the lowest working pressure of any component in the
filter system. Any pressure relief valve installed must
comply with provisions of the Standard described in
ANSI Z21.22 for the United States, or CSA 4.4 in
Canada.
To install a pressure relief valve, do the follow-
ing:
1. Remove the 3/4 inch (19 mm) brass plug located
on the top of the inlet/outlet header (see Figure
15).
2. Install the pressure relief valve in the threaded
hole from which the plug was removed.
3. Be sure that the exhaust port of the PRV is
plumbed so that any hot water is directed safely
away from any public areas and away from any
area occupied during servicing.
5.7 Auxiliary Components, Chlorinators,
Ozone Generators, and Sanitizing
Chemicals.
The Lite2 heater is manufactured with materials
that are not compatible with high concentrations of
ozone, chlorine, bromine, or other sanitizing chemi-
cals. Heater damage caused by excessive chemicals or
improper ozonization is not covered by the Water Pik
Technologies warranty. Be sure to adhere to the
following:
When ozone is injected upstream of the heater,
install an offgas mixing chamber, or an ozone
bypass system between the heater and the ozone
injector to prevent ozone and air from entering
the heater.
When chemical feeders are used, plumb the
feeder downstream of the heater and install an in-
line check valve between the heater and the
feeder (a minimum of 18" is required between
the heater and the check valve).
Never deposit chemicals directly in the pool
skimmer.
SECTION 6.
Electrical
WARNING
Label all wires prior to disconnection when
servicing controls. Wiring errors can cause
improper and dangerous operation.
Verify proper operation after servicing.
Figure 14. Plastic piping connections.
Figure 15. Thermometer and pressure relief valve.

Table of Contents

Related product manuals