EasyManua.ls Logo

Janome 659 - Needle Clearance to Hook; Needle to Hook Clearance Adjustment

Janome 659
25 pages
Print Icon
To Next Page IconTo Next Page
To Next Page IconTo Next Page
To Previous Page IconTo Previous Page
To Previous Page IconTo Previous Page
Loading...
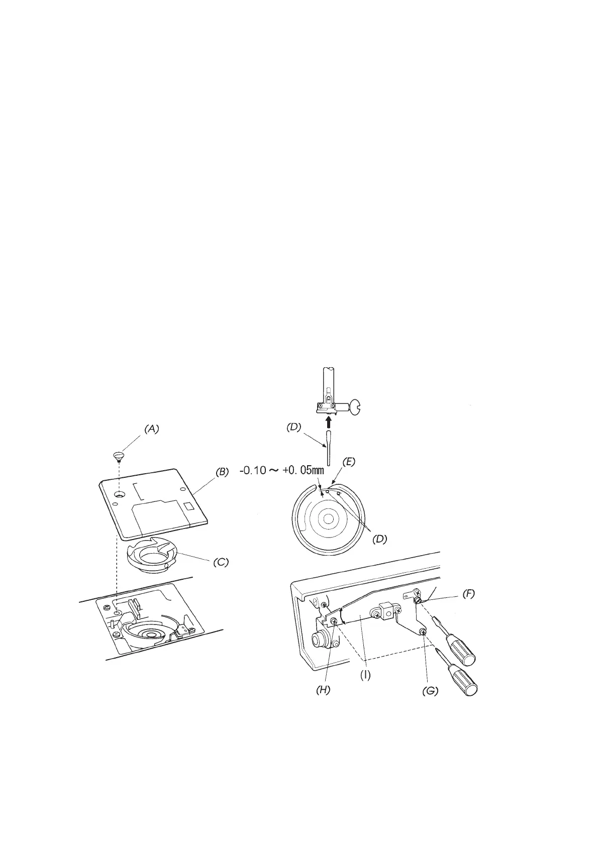
NEEDLE CLEARANCE TO HOOKNEEDLE CLEARANCE TO HOOK
NEEDLE CLEARANCE TO HOOKNEEDLE CLEARANCE TO HOOK
NEEDLE CLEARANCE TO HOOK
TO CHECK:
1. Set the pattern selector dial at the maximum zigzag stitch width.
2. Remove the set screw (A) on the needle plate, and detach the needle plate (B) and bobbin
holder (C).
3. Replace the needle with test pin #68368 (D).
4. Turn the hand wheel toward you slowly by hand until the needle bar reaches its lowest
position.
5. The clearance between the test pin #68368 (D) and the point of the hook (E) should be
between -0.10 and +0.05 mm.
Adjustment procedure:
1. Remove the bed cover (See page 4).
2. Loosen set screws (F), (G), and (H).
3. Tighten set screw (F) temporarily.
4. Move hook set plate (I) to either direction as shown by the arrow until the clearance
between the test pin #68368 (D) and the point of the hook (E) is between -0.10 and +0.05
mm.
5. Tighten the set screws (F), (G) and (H) securely.
6. Reattach the bed cover, bobbin holder and needle plate and remove the test pin #68368
(D).
12

Related product manuals