EasyManua.ls Logo

JBL CINEMA SOUND SET UP - Page 7

JBL CINEMA SOUND SET UP
43 pages
Print Icon
To Next Page IconTo Next Page
To Next Page IconTo Next Page
To Previous Page IconTo Previous Page
To Previous Page IconTo Previous Page
Loading...
SIGNAL OUT
FILM
--$-I_
___)
h
SOLAR
--)
PREAMP
--)
NOISE
I
I
CELL
REDUCTION
-
LAMP
i
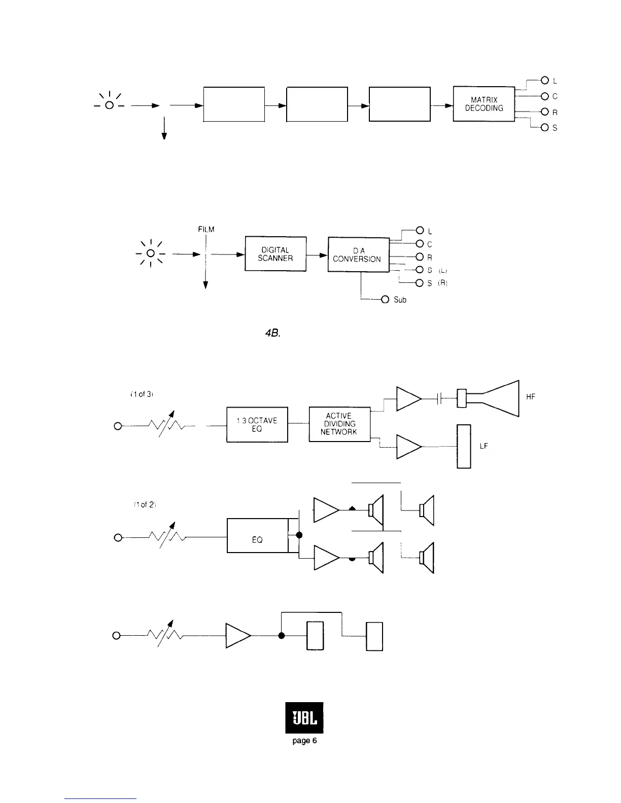
Figure 4A.
Block diagram of analog A-chain
SIGNAL OUT
Figure 48. Block diagram of digital A-chain
SCREEN CHANNEL
I1
of31
MASTER
FADER
,:,pg
SURROUND CHANNEL
il
Of
2)
A
1 3 OCTAVE
_,,
EO
SUB CHANNEL
Figure 4C. Block diagram of B-chain with split surrounds

Related product manuals