EasyManua.ls Logo

JBL JSR-400 - Receiver

JBL JSR-400
67 pages
Print Icon
To Next Page IconTo Next Page
To Next Page IconTo Next Page
To Previous Page IconTo Previous Page
To Previous Page IconTo Previous Page
Loading...
36
Dolby Pro-Logic
Ò
A/V Receiver JSR-400
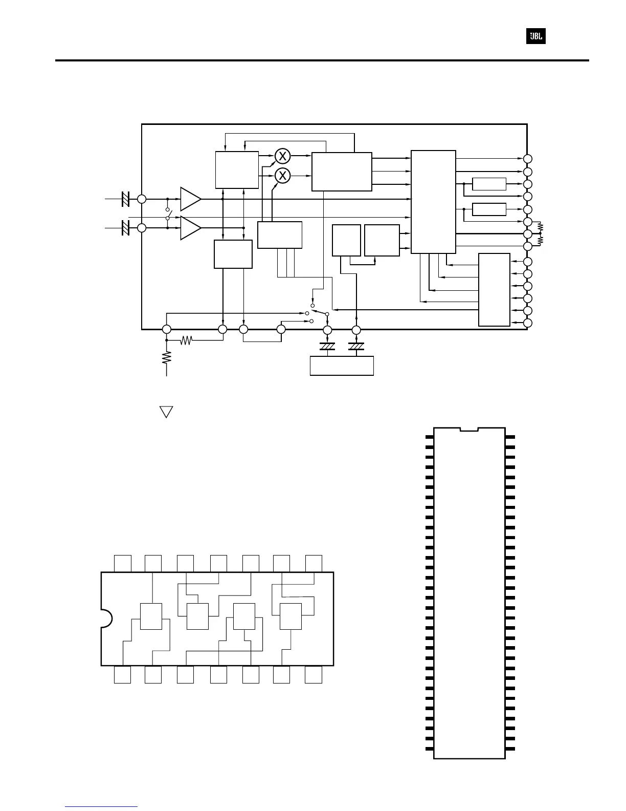
INTEGRATED CIRCUIT DIAGRAMS 1
Main PCB - IC5
Video
(LC4966)
QUAD BILATERAL SWITCH
PCB - IC5 (LC4966)
1
1
2
3
4
5
6
7
8
9
10
11
12
13
14
15
16
17
18
19
20
21
22
23
24
25
26
27
28
29
30
31
32
5
26
37
4
14
64
63
62
61
60
59
58
57
56
55
54
53
52
51
50
49
48
47
46
45
44
43
42
41
40
39
38
37
36
35
34
33
10
13 9
12 8
11
V
DD
CONTA CONTD
V
SG
CONTB
OUT/IN
OUT/IN
OUT/IN
OUT/IN
CONTC
IN/OUT
IN/OUT
IN/OUT
IN/OUT
SW A
SW D
SW B
SW C
{
{
{
{
SW
A
SW
D
SW
B
SW
C
Input
Auto-
balance
Control
X1
X1
Center/
Operating
Mode
Control
Adaptive
Matrix
Lp
Rp
Cp
Lt
Rt
V
LR
V
CS
7kHz
LPF
Modified
Dolby
B.N.R.
Noise
Sequencer
L Input
R Input
L+R
L-R
L+R L-R
Delay
SW2
S'
SIPO
Noise seq.
By-pass Line
Left
Right
Center
Surround
Idsw
REQ
SCX
DATA
Digital GND
V
DD
CT
ST
Trimmer
Trimmer
Sp
Pd
NEG/POS
2/3/4ch
CenterON/OFF
Nor/Pha/Wi
OUTPUTS
Main PCB IC10 - (NJW1102)
D/S DECODER
Control PCB IC1 - (CXP82712)
+5V
NC
REMOCON
POWER OFF
OPTION 2
OPTION 1
OPTION 0
-27V
GRID 01
GRID 02
GRID 03
GRID 04
GRID 05
GRID 06
GRID 07
GRID 08
SEG 16
SEG 15
SEG 14
SEG 13
SEG 12
SEG 11
SEG 10
SEG 09
SEG 08 / KS01102
SEG 07 / KS1
SEG 06 / KS2
SEG 05 / KS3
SEG 04 / KS4
SEG 03 / KS5
SEG 02 / KS6
SEG 01
STEREO
TUNED
+5V
NC
P/F DI
P/F CL
PLL CE
A-MUTE
POWER ON
SP FRONT
VOL.UP
VOL. DN
PO.IND
R/C MUTE
VIDEO
VCR
KR 00
KR 01
KR 02
KR 03
DOLBY
BY-PASS
1102 DATA
1102 SCK
REQ
7821 CE
T-MUTE
OPTION
RESET
X-TAL
X-TAL
GND

Related product manuals