EasyManua.ls Logo

jcb JS130 - Page 155

jcb JS130
533 pages
Print Icon
To Next Page IconTo Next Page
To Next Page IconTo Next Page
To Previous Page IconTo Previous Page
To Previous Page IconTo Previous Page
Loading...
5 - 16
Section C Electrics
9803/6410
Section C
5 - 16
Issue 1
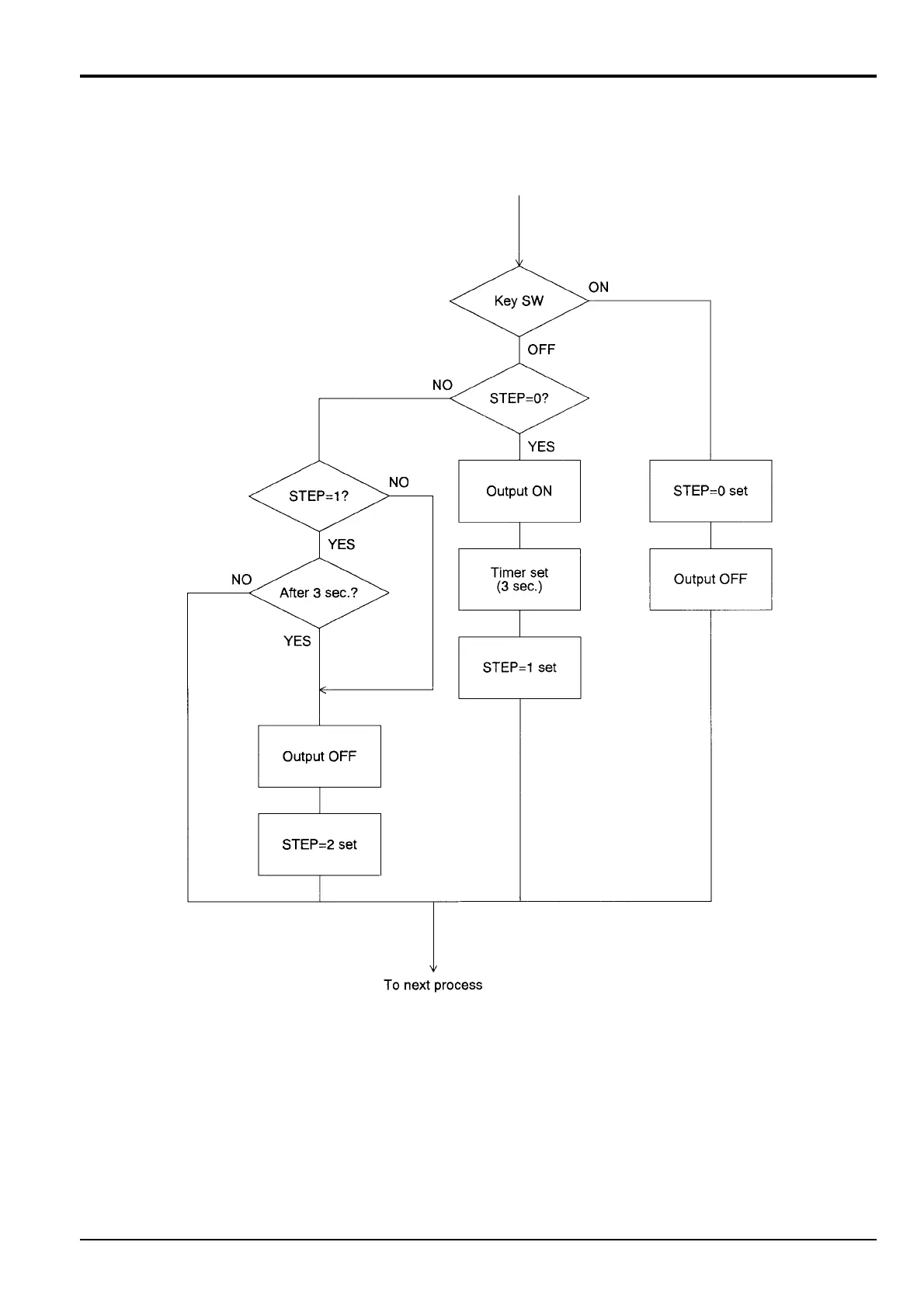
Pump Control
Power Supply Cut Delay
Flow Chart

Table of Contents

Related product manuals