EasyManua.ls Logo

jcb JS130 - Page 345

jcb JS130
533 pages
Print Icon
To Next Page IconTo Next Page
To Next Page IconTo Next Page
To Previous Page IconTo Previous Page
To Previous Page IconTo Previous Page
Loading...
60 - 5
Section E Hydraulics
9803/6410
Section E
60 - 5
Issue 1
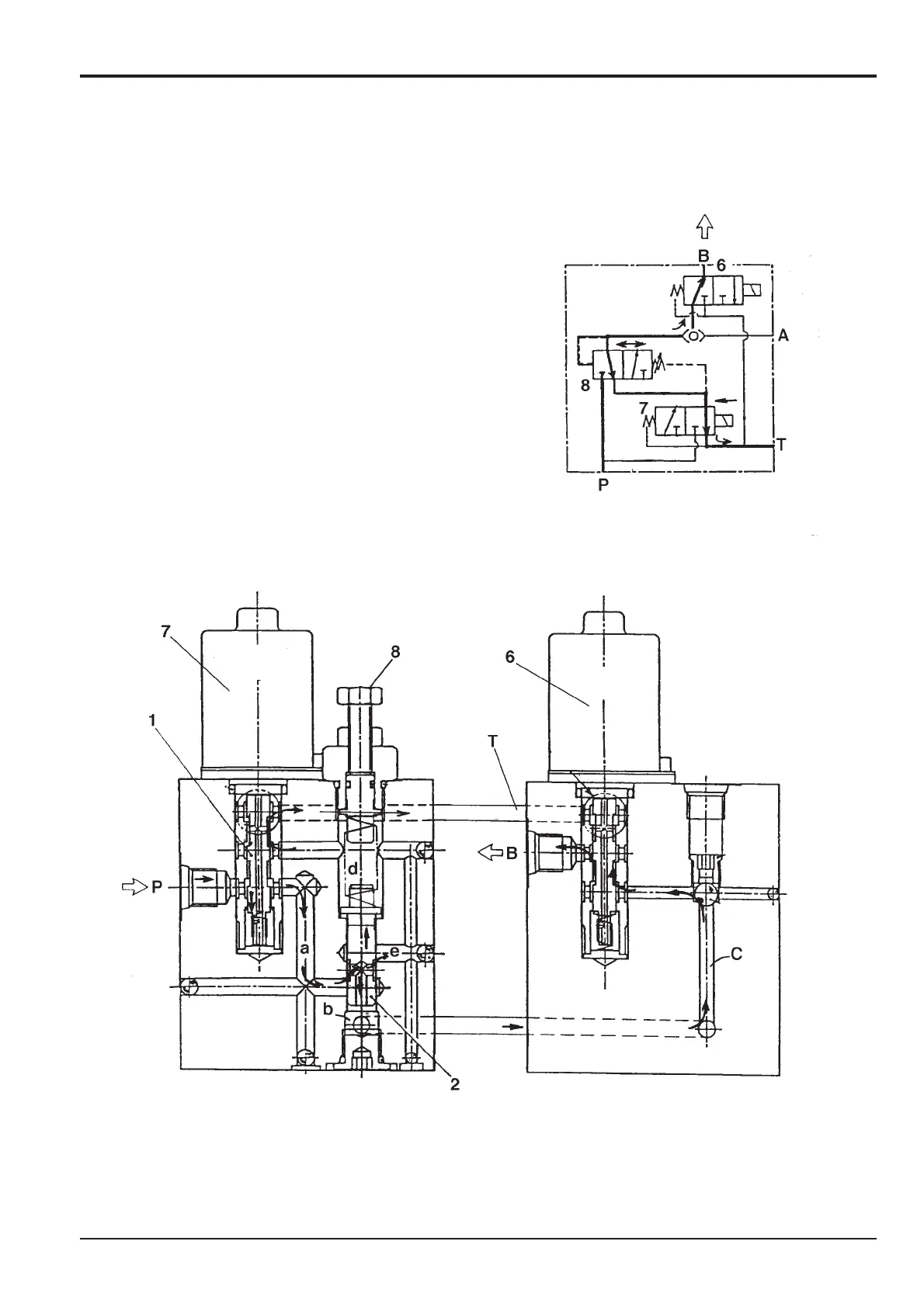
Slew Brake Valve
Operation (JS130) (cont’d)
Slew Brake (50% Application)
Five seconds after the control lever has been returned to
neutral, an electric signal from the controller operates
solenoid valve 7 and spool 1 moves down.
Oil in the pressure reducing valve spring chamber d is
connected to tank passageway T.
Pilot pressure entering port P flows to passageway a and
chamber b and tries to lift the reducing valve spool 2. Oil in
chamber b is throttled into passageway e and spring
chamber d and continues to tank.
Simultaneously, part of the flow from chamber b flows
through passageway c to the solenoid control valve 6,
through port B and to the brake port of the slew motor. Oil at
the spring release pressure of the reducing valve 8 enters
the brake area of the slew motor and 50% brake force is
applied.
JS02110

Table of Contents

Related product manuals