EasyManua.ls Logo

Jet JWS-25CS - Collar Positioning Guide; Starting Pin Operation

Jet JWS-25CS
24 pages
Print Icon
To Next Page IconTo Next Page
To Next Page IconTo Next Page
To Previous Page IconTo Previous Page
To Previous Page IconTo Previous Page
Loading...
13
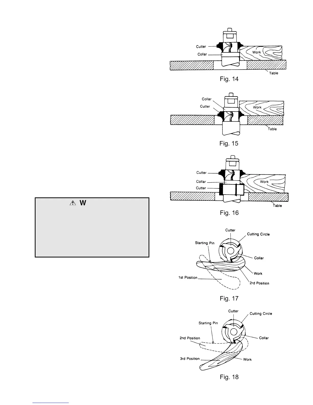
Collar Positioning
Collars may be positioned above, below, or
between two cutters:
1. When using the collar below the cutter,
figure 14, the progress of the cut can be
observed at all times. A disadvantage of
this method is any accidental lifting of the
work will gouge the wood and ruin the
workpiece.
2. Using the collar above the cutter, figure 15,
offers the advantage of the cut not being
affected by slight variations in the stock's
thickness. However, the cut is not visible
during the operation. Another advantage is
accidental lifting of the work piece will not
gouge the work piece. Simply correct the
mistake by repeating the operation.
3. The collar between cutters method, shown
in figure 16, has both the advantages and
disadvantages of the first two methods.
This method is used primarily where both
edges of the work are to be shaped.
Starting Pin

WARNING
Using the starting pin should only be
attempted by advanced users! If you have
never used this method before, it is
recommended you get training from a
qualified person who is knowledgeable in
starting pin shaping!
Failure to comply may cause serious injury!
The starting pin is placed in one of the threaded
holes in the table:
1. Work should be placed in the first position
using the guide pin as support, as shown in
figure 17. Then swing the work into the
cutter as shown in the second position. The
work will now be supported by the collar and
starting pin.
2. After the cut has been started, the work is
swung free of the starting pin and rides only
against the collar as shown in the third
position in figure 18. Always feed against
the action of the cutter.

Related product manuals