EasyManua.ls Logo

John Bean EELR529A - Column Installation

John Bean EELR529A
45 pages
Print Icon
To Next Page IconTo Next Page
To Next Page IconTo Next Page
To Previous Page IconTo Previous Page
To Previous Page IconTo Previous Page
Loading...
- 16 -
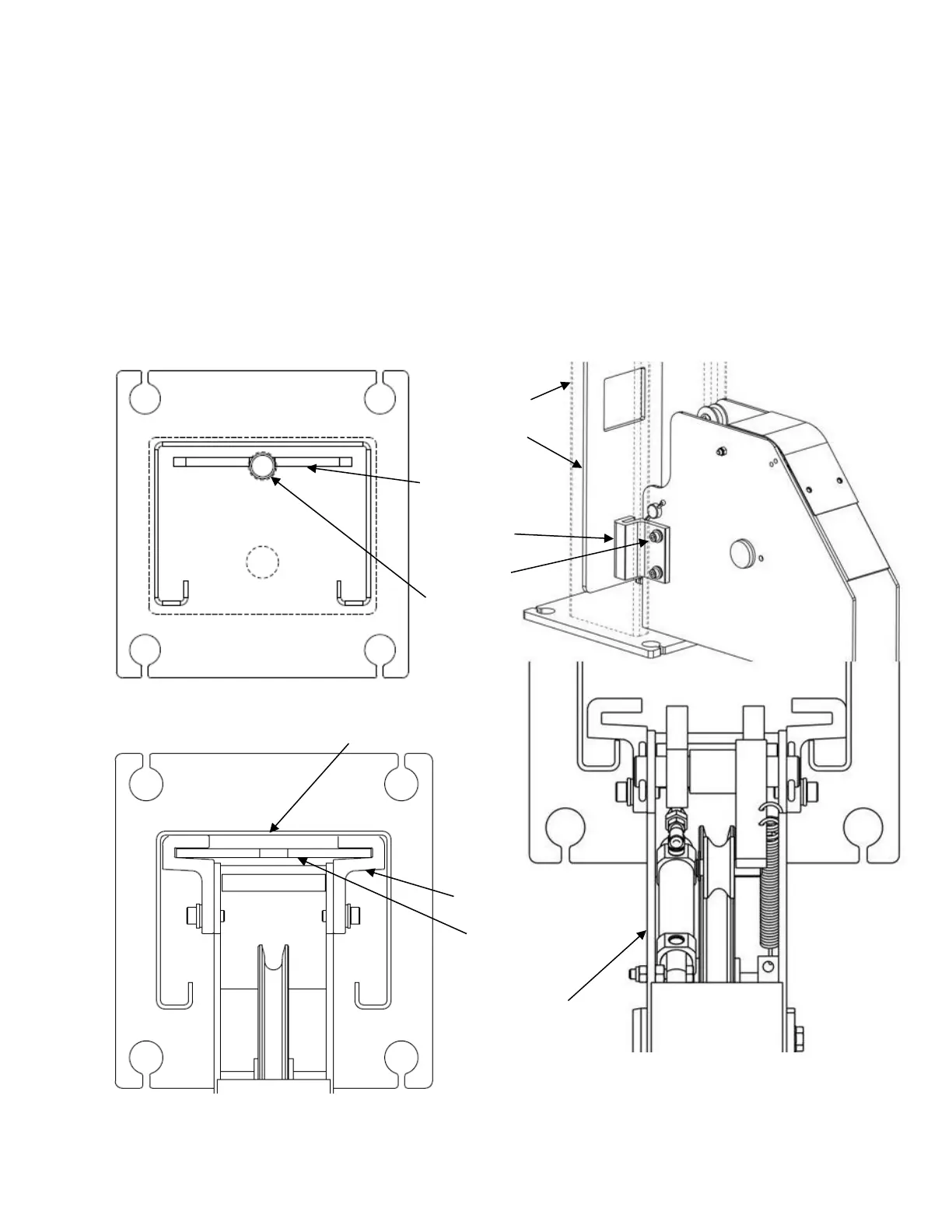
7.4 COLUMN INSTALLATION
Stand up a column assembly near each corner of the lift (column with power unit
bracket goes at the front left corner, power front) and check the locking ladder bar
orientation per Figure 11. Note that the center of the threaded rod is offset (away from
the back of the column) from the center of the ladder. Thread the locking ladder jam nut
(located under the column top plate) down approximately 6” to allow the ladder to be
lifted freely.
Slide power side column onto cross beam until the M8 threaded holes in the side of the
beam are just exposed. Position slide blocks as shown in Figure 12 and attach with M8
x 16mm lg. bolts (apply thread locking compound before installing).
Raise the locking ladder, push the column against the slide blocks, and lower the ladder
into the slide blocks, Figure 13.
Figure 13 Locking Ladder Orientation
Figure 7
Figure 11 Locking
Ladder Orientation
THREADED
ROD
LOCKING
LADDER
BAR
COLUMN
LOCKING
LADDER
M8 BOLT
SLIDE
BLOCK
CROSS BEAM
Figure12 Slide
Block Installation
COLUMN
SLIDE BLOCK
LOCKING
LADDER

Related product manuals