EasyManua.ls Logo

JUKI MO-6804D - Page 192

JUKI MO-6804D
Print Icon
To Next Page IconTo Next Page
To Next Page IconTo Next Page
To Previous Page IconTo Previous Page
To Previous Page IconTo Previous Page
Loading...
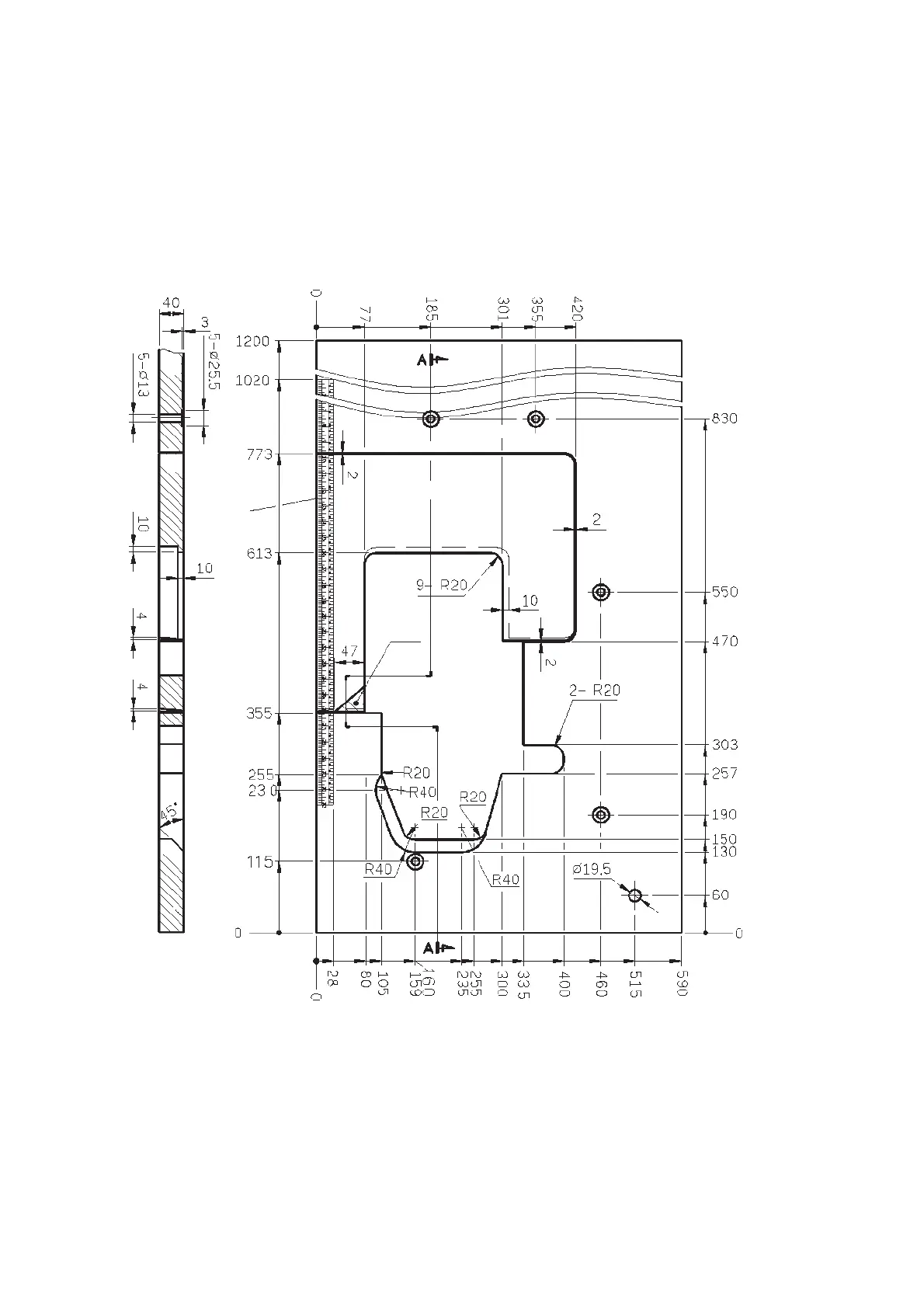
– 28 –
Mesa tipo completamente sumergido
* Se requiere el uso de la mesa auxiliar,
UNIDAD: mm
DIFERENCIA: ±2
PESO: 12,4 kg ±5%
Línea demarcadora de escala negra
󱤨
󱤨 = Esta parte se debe retirar cuando se instala
el dispositivo de dobladillado automático en
la máquina de coser.
A-A

Table of Contents

Related product manuals