EasyManua.ls Logo

JVC GR-DVL365EG

JVC GR-DVL365EG
116 pages
To Next Page IconTo Next Page
To Next Page IconTo Next Page
To Previous Page IconTo Previous Page
To Previous Page IconTo Previous Page
Loading...
5-6
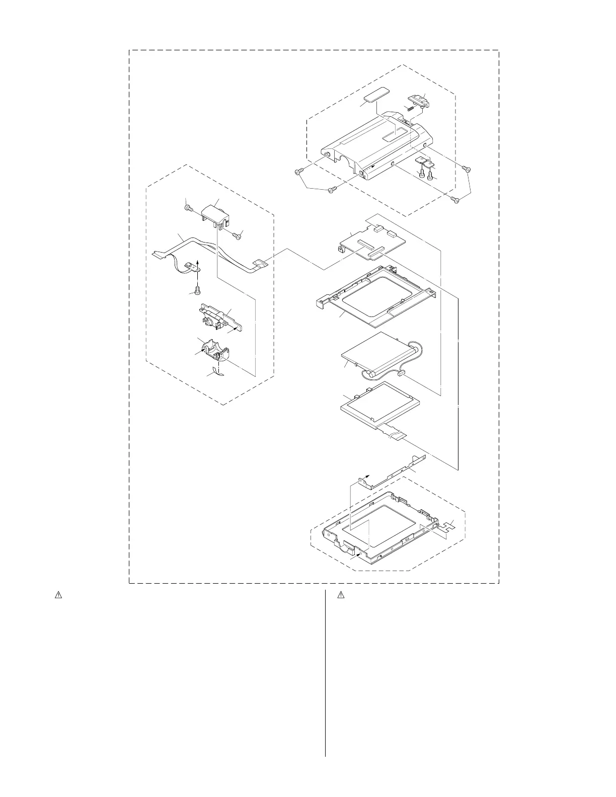
5.3 MONITOR ASSEMBLY <M5> [GR-DVL567EG]
******************************
MONITOR ASSEMBLY <M5>
500 LYH20246-037B MONITOR ASSY
501 LY20809-002A MONITOR COVER(3.5)ASSY
501A LY31620-004A KNOB(LOCK 1)
501B LY42180-002A KNOB(LOCK 2)
501C LY30002-044A COMPRESSION SPRING
501D LY30018-084A SPECIAL SCREW,X2
501E LY42883-001A MARK
502 LY20598-002A MONITOR CASE ASSY
502A LY42388-001A EARTH MON(2)
504 LY20568-001A HOLDER(3.5PWB)
--------------- ----------------------- ----------------------------------------------------- ---------------- ----------------------- ------------------------------------------------------
# REF No. PART No. PART NAME, DESCRIPTION # REF No. PART No. PART NAME, DESCRIPTION
505 LY31622-001A BRACKET(EARTH)
506 QLL0115-001 BACK LIGHT
507 QLD0203-001 LCD MODULE
508 LY32695-001A MONITOR FPC ASSY
508A LY32574-001A MONITOR FPC ASSY
508B LY32079-001A HINGE ASSY
508C LY32380-001A HINGE COVER(U)
508D LY32381-001A HINGE COVER(L)
508E LY30018-058A SPECIAL SCREW,X2
508F LY30018-023A SPECIAL SCREW
508G LY30029-0Q5A SPACER(A)
509 QYSPSPT1730R SCREW,X2
510 LY30018-0F2A SPECIAL SCREW,X2
502
507
506
504
LCD BL
<03>
500
a
b
505
508C
508E
508
508E
508A
c
508F
508B
508D
508G
c
b
502A
510
501
501A
501C
501E
501B
501D
501D
a
509

Table of Contents

Related product manuals