EasyManua.ls Logo

JVC GR-DVL365EG

JVC GR-DVL365EG
116 pages
To Next Page IconTo Next Page
To Next Page IconTo Next Page
To Previous Page IconTo Previous Page
To Previous Page IconTo Previous Page
Loading...
1-11
1.8 SERVICE NOTE
Table 1-8-1
1 2 3 4 5 6 7 8 9 10 11 12 13 14 15 16 17 18 19 20
13
425
Fig. 1-3-2 Fig. 1-3-3 Fig. 1-3-4
Fig. 1-3-1
21 22 23 24 25 26 27 28 29 30 31 32 33 34 35 36 37 38 39 40 41 42 43
6
#$ %
0! @7 / 8 / 9
Fig. 1-3-5 Fig. 1-3-6 Fig. 1-3-7 Fig. 1-3-8 Fig. 1-3-9
Fig. 1-3-10 Fig. 1-3-11 Fig. 1-3-12
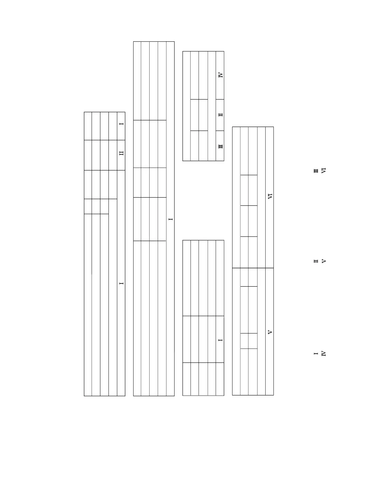
Symbol No.
Removing order of screw
Place to stick screw
Reference drawing
Screw tightening torque
Symbol No.
Removing order of screw
Place to stick screw
Reference drawing
Screw tightening torque
Symbol No.
Removing order of screw
Place to stick screw
Reference drawing
Screw tightening torque
Removing order of screw
Place to stick screw
Reference drawing
Screw tightening torque
44 45 46 47 48 49 50 51 52 53
MONITOR ASSY
Fig. 1-4-1
Removing order of screw
Place to stick screw
Reference drawing
Screw tightening torque
1234 567
B/W VF ASSY
Fig. 1-5-1
1234 567 8
< NOTE >
1)
: Dont reuse the screw, because screw lock bond was applied to them.
2) Pay careful attention to tightening torque for each screw.
: 0.088N·m (0.9kgf·cm)
: 0.147N·m (1.5kgf·cm)
: 0.098N·m (1.0kgf·cm)
: 0.069N·m (0.7kgf·cm)
: 0.078N·m (0.8kgf·cm)
: 0.118N·m (1.2kgf·cm)
OP BLOCK ASSY
Fig. 1-6-1
1234 567 89
∗∗
∗∗
∗∗

Table of Contents

Related product manuals