EasyManua.ls Logo

JVC TK-C1480B - Page 161

JVC TK-C1480B
192 pages
Print Icon
To Next Page IconTo Next Page
To Next Page IconTo Next Page
To Previous Page IconTo Previous Page
To Previous Page IconTo Previous Page
Loading...
S-7
Español
ON
SIMPLEX
ON
LL
SET
AWC
MENU
CAMERA
SETUP
EXT TERM-OFF
INT/GL
DUPLEX
RX TERM-OFF
NOT USED
VIDEO
DC
IRIS
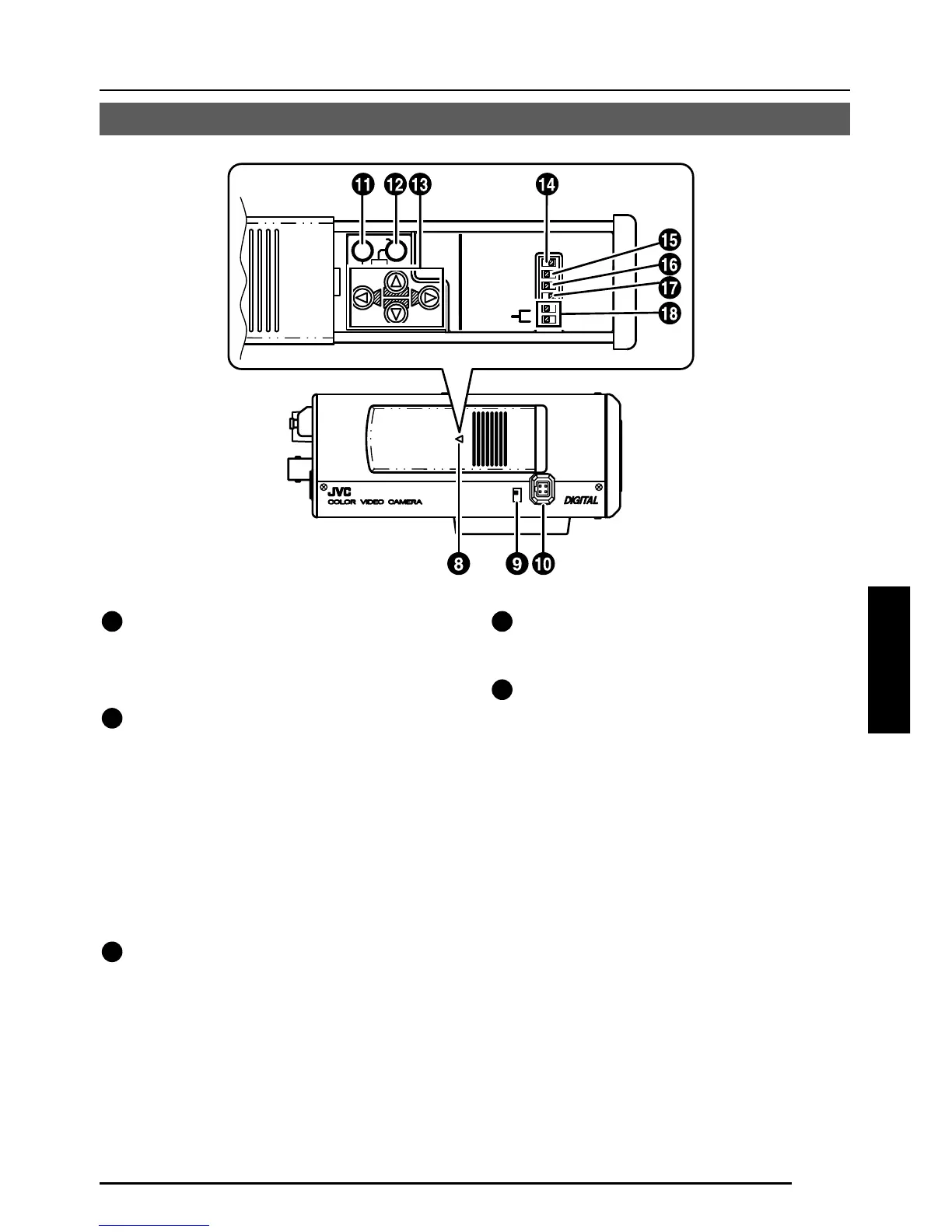
8
Cubierta
La cubierta se abre tirando de la misma
hacia la izquierda mientras ejerce
presión sobre la misma.
9
[VIDEO/DC] Conmutador selector de
iris
Se ajusta según el tipo de objetivo
cuando se utilice un objetivo de control
automático de iris.
VIDEO: En el caso de un objetivo con
amplificador EE incorporado
DC: En el caso de un objetivo sin
amplificador EE incorporado
(VIDEO: Cuando se expide de fábrica)
10
[IRIS] Terminal iris
Se conecta a un objetivo de control
automático de iris.
( Página 13)
11
[MENU] Botón menú
Al pulsar el botón, aparecerá un menú.
( Página 21)
12
[SET/AWC] Botón de control de ajuste/
control automático de blancos
SET: Presione este botón para visualizar
un submenú.
( Página 21)
AWC: Si mantiene pulsado este botón
durante más de 1 segundo, se
activará la función de balance
automático de blancos al toque y
se ajustará el balance de blancos.
Una vez ajustado, el balance de
blancos no cambiará aunque
cambie la temperatura de color.
También es posible realizar el
ajuste fino en el balance de
blancos ajustado.
( Página 20)

Table of Contents

Related product manuals