EasyManua.ls Logo

JVC TK-C1480B - Anbringen des Objektivs

JVC TK-C1480B
192 pages
Print Icon
To Next Page IconTo Next Page
To Next Page IconTo Next Page
To Previous Page IconTo Previous Page
To Previous Page IconTo Previous Page
Loading...
G-13
Deutsch
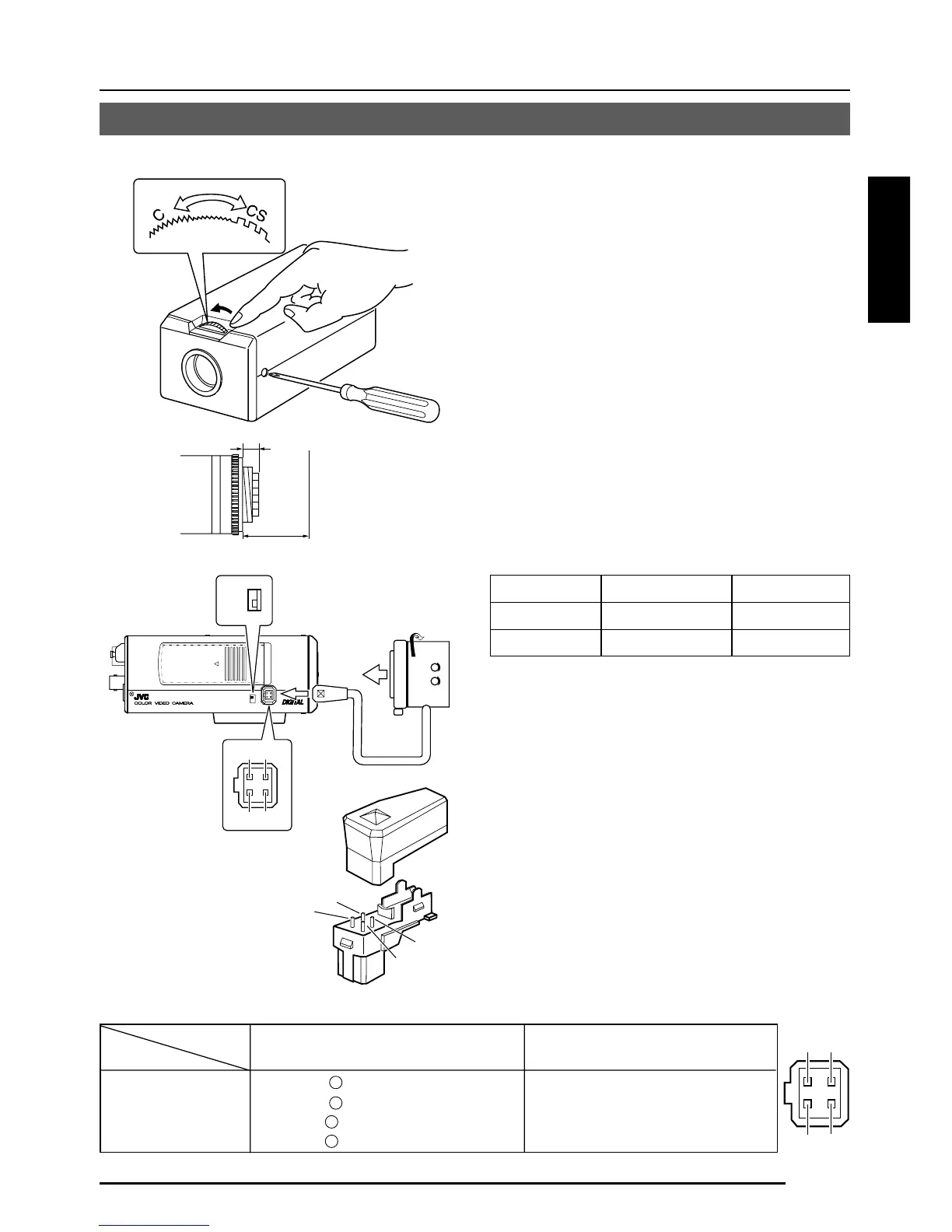
Anbringen des Objektivs
VIDEO
DC
IRIS
VIDEO
DC
3
42
1
Bringen Sie das Objektiv entsprechend der nachfolgend beschriebenen Verfahren an.
Angebrachte 4 Anschlussfahnen
1.
Überprüfen Sie vor dem Anschluss eines
Objektivs, ob es eine C- oder eine CS-
Fassung hat.
Wenn Sie die Anbringungsmethode ändern
wollen, so lösen Sie die Feststellschraube
(M 2,6) für die Schnittweite mit einem
Kreuzschlitzschraubenzieher, drehen Sie
den Einstellring für die Schnittweite mit den
Fingern oder mit einem Schraubenzieher,
und ändern Sie die Anbringungsmethode.
Die in der Abbildung gezeigte Abmessung
(b) muss wie in der folgenden Tabelle
gezeigt sein. Wenn (b) den in der Tabelle
gezeigten Wert überschreitet, kann das
Innere der Kamera beschädigt werden oder
korrekte Anbringung kann unmöglich sein.
Bringen Sie bei Verwendung einer CS-
Fassung kein Objektiv mit C-Fassung
an.
Die Markierung F markiert den Brennpunkt.
2.
Bringen Sie das Objektiv durch Drehen im
Uhrzeigersinn an der Kamera an. Stellen Sie
seine Position ein.
3.
Stellen Sie bei Verwendung eines Objektivs
mit automatischer Blende mit einem EE-
Verstärker den Schalter zur Seite VIDEO.
Stellen Sie ihn zur Seite DC, wenn kein EE-
Verstärker vorhanden ist.
4.
Wenn das Objektiv einen automatischen
Blendenmechanismus hat, so schließen Sie
nach Überprüfung der Stiftanordnung das
Objektivkabel an.
Wenn das Objektivkabel einen anderen
Steckertyp hat, so verwenden Sie den
mitgelieferten vierpoligen Stecker.
Objektiv
Flanschrückseite (c)
Abmessung (b)
Objektiv mit C-Fassung
17,526 mm
10 mm oder weniger
Objektiv mit CS-Fassung
12,5 mm
5,5 mm oder weniger
1
3
4
2
B
F
L
O
C
K
1
3
2
4
(b)
(c)
F
Objektiv DC-Blende VIDEO-Blende
Stift Nr. (enthält keinen EE-Verstärker) (enthält einen EE-Verstärker)
1 Bremse
9 V [max. 50 mA]
2 Bremse
+
Nicht angeschlossen
3 Antrieb
+
Video
4 Antrieb
Masse
3.
2.
4.

Table of Contents

Related product manuals