EasyManua.ls Logo

JVC TK-C1480B - Page 47

JVC TK-C1480B
192 pages
Print Icon
To Next Page IconTo Next Page
To Next Page IconTo Next Page
To Previous Page IconTo Previous Page
To Previous Page IconTo Previous Page
Loading...
G-7
Deutsch
ON
SIMPLEX
ON
LL
SET
AWC
MENU
CAMERA
SETUP
EXT TERM-OFF
INT/GL
DUPLEX
RX TERM-OFF
NOT USED
VIDEO
DC
IRIS
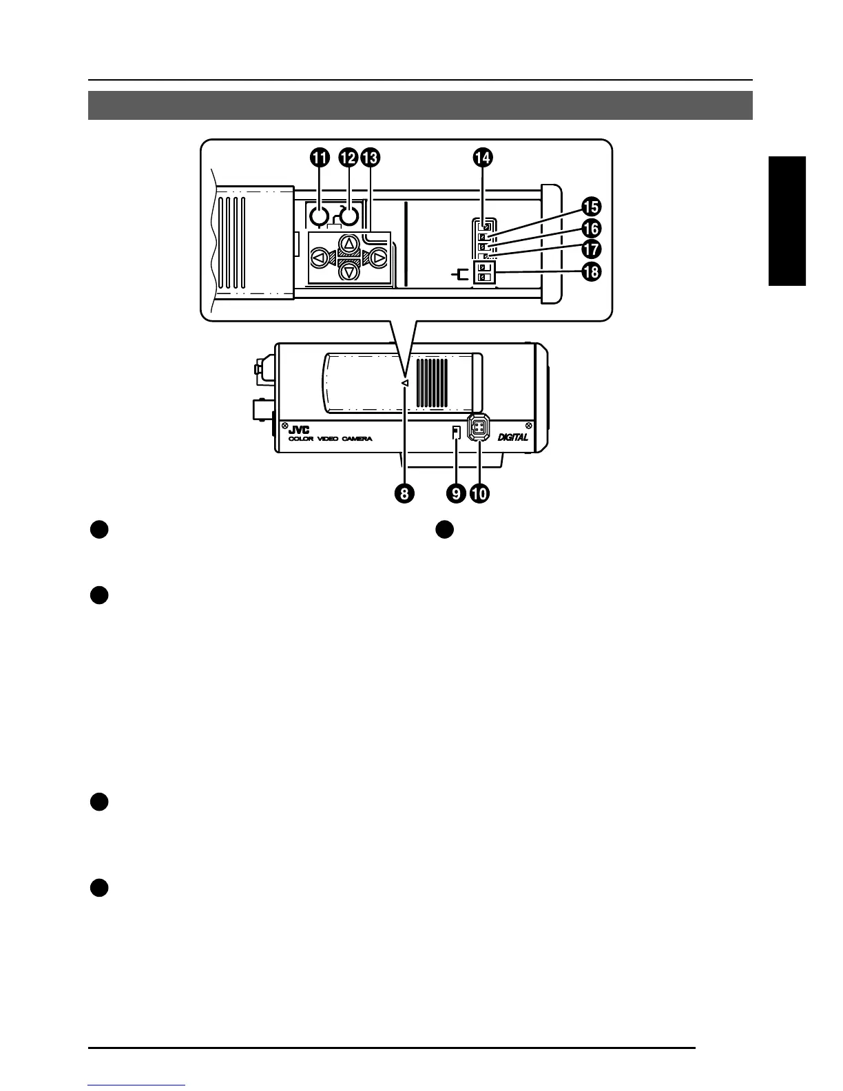
8
Deckel
Der Deckel öffnet sich, wenn er gedrückt
und nach links geschoben wird.
9
[VIDEO/DC] Blendenwahlschalter
Bei Verwendung eines Objektivs mit
automatischer Blendensteuerung wird
dieser Schalter entsprechend dem
Objektivtyp eingestellt.
VIDEO: Für ein Objektiv mit eingebautem
EE-Verstärker.
DC: Für ein Objektiv ohne eingebauten
EE-Verstärker
(VIDEO: Werkseinstellung)
10
[IRIS] Blendenanschluss
Hier wird ein Objektiv mit automatischer
Blendensteuerung angeschlossen.
( Seite 13)
11
[MENU] Menütaste
Wenn diese Taste gedrückt wird,
erscheint ein Menübildschirm.
( Seite 21)
12
[SET/AWC] Taste für Untermenüs und
für Einstellen von automatischem
Weißabgleich
SET: Drücken Sie diese Taste zur
Anzeige eines Untermenüs.
( Seite 21)
AWC: Wenn diese Taste länger als eine
Sekunde gedrückt wird, so wird
die Funktion für automatischen
Weißabgleich durch einen
Tastendruck aktiv und führt
Weißabgleich durch. Sobald die
Einstellung durchgeführt worden
ist, ändert sich der Weißabgleich
nicht mehr, auch wenn sich die
Farbtemperatur ändern sollte. Es
ist auch möglich, Feineinstellungen
für den eingestellten Weißabgleich
durchzuführen.
( Seite 20)

Table of Contents

Related product manuals