EasyManua.ls Logo

JVC TK-C1480B - Page 9

JVC TK-C1480B
192 pages
Print Icon
To Next Page IconTo Next Page
To Next Page IconTo Next Page
To Previous Page IconTo Previous Page
To Previous Page IconTo Previous Page
Loading...
E-9
ON
SIMPLEX
ON
LL
SET
AWC
MENU
CAMERA
SETUP
EXT TERM-OFF
INT/GL
DUPLEX
RX TERM-OFF
NOT USED
VIDEO
DC
IRIS
8
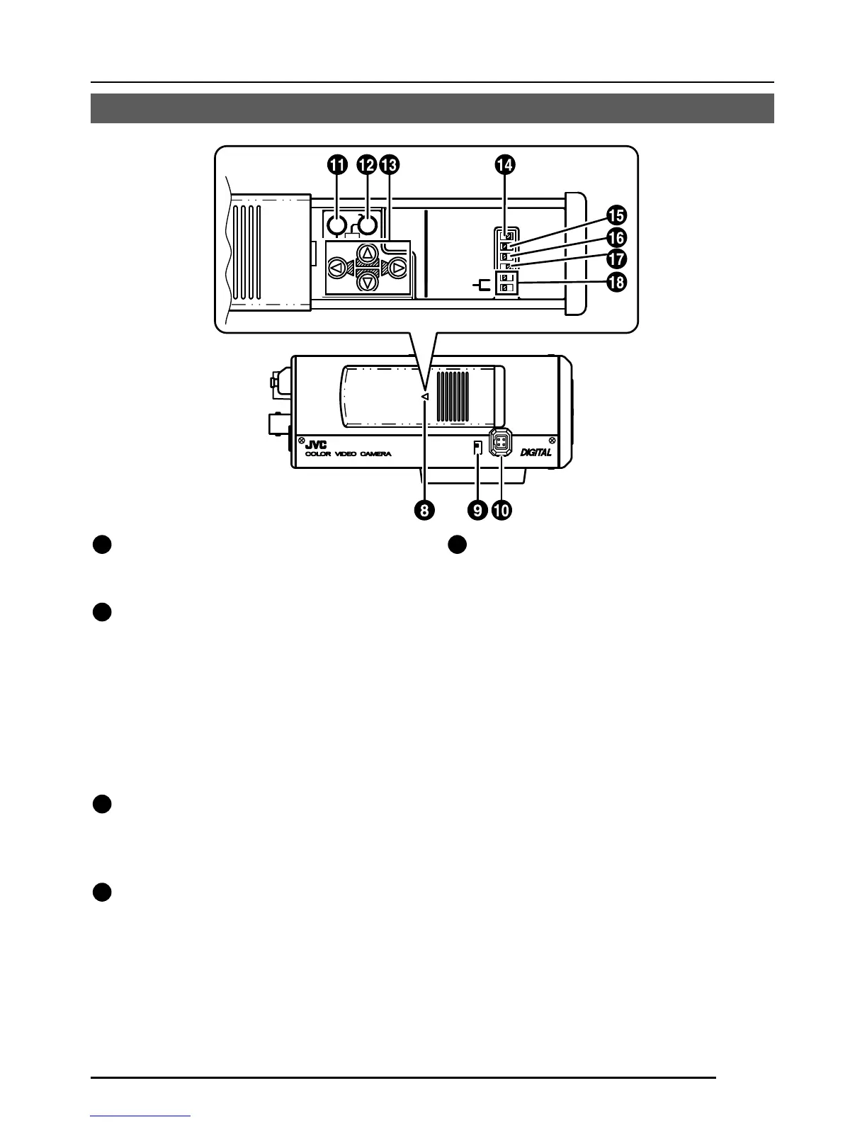
Cover
The cover slides open when pushed to
the left.
9
[VIDEO/DC] Iris Selector Switch
This should be set according to the type
of lens if an automatic iris control lens is
used.
VIDEO: In case of lens with EE amp built-
in.
DC: In case of lens without EE amp
built-in.
(VIDEO:
At time of factory shipment)
10
[IRIS] Iris Terminal
This is connected to an automatic iris
control lens.
( Page 15)
11
[MENU] Menu Button
When pressed, a menu screen is brought
up.
( Page 23)
12
[SET/AWC] Set. Auto White Control
Button
SET: Press this button to display a sub-
menu.
( Page 23)
AWC: If this button is kept pressed for
more than 1 second, a one-push-
auto-white-balance function works
and sets the white balance. Once
it is set, even if colour temperature
changes, white balance does not
change. It is also possible to make
fine adjustments on the set white
balance.
( Page 22)

Table of Contents

Related product manuals