EasyManua.ls Logo

Kaba SIMPLEX 3000 NARROW STILE - Resetting Unknown Combination; Removing Combination Chamber; Preparing Combination Chamber; Identifying Code Gear Pockets

Kaba SIMPLEX 3000 NARROW STILE
16 pages
Print Icon
To Next Page IconTo Next Page
To Next Page IconTo Next Page
To Previous Page IconTo Previous Page
To Previous Page IconTo Previous Page
Loading...
11
E. RESETTING AN UNKNOWN COMBINATION
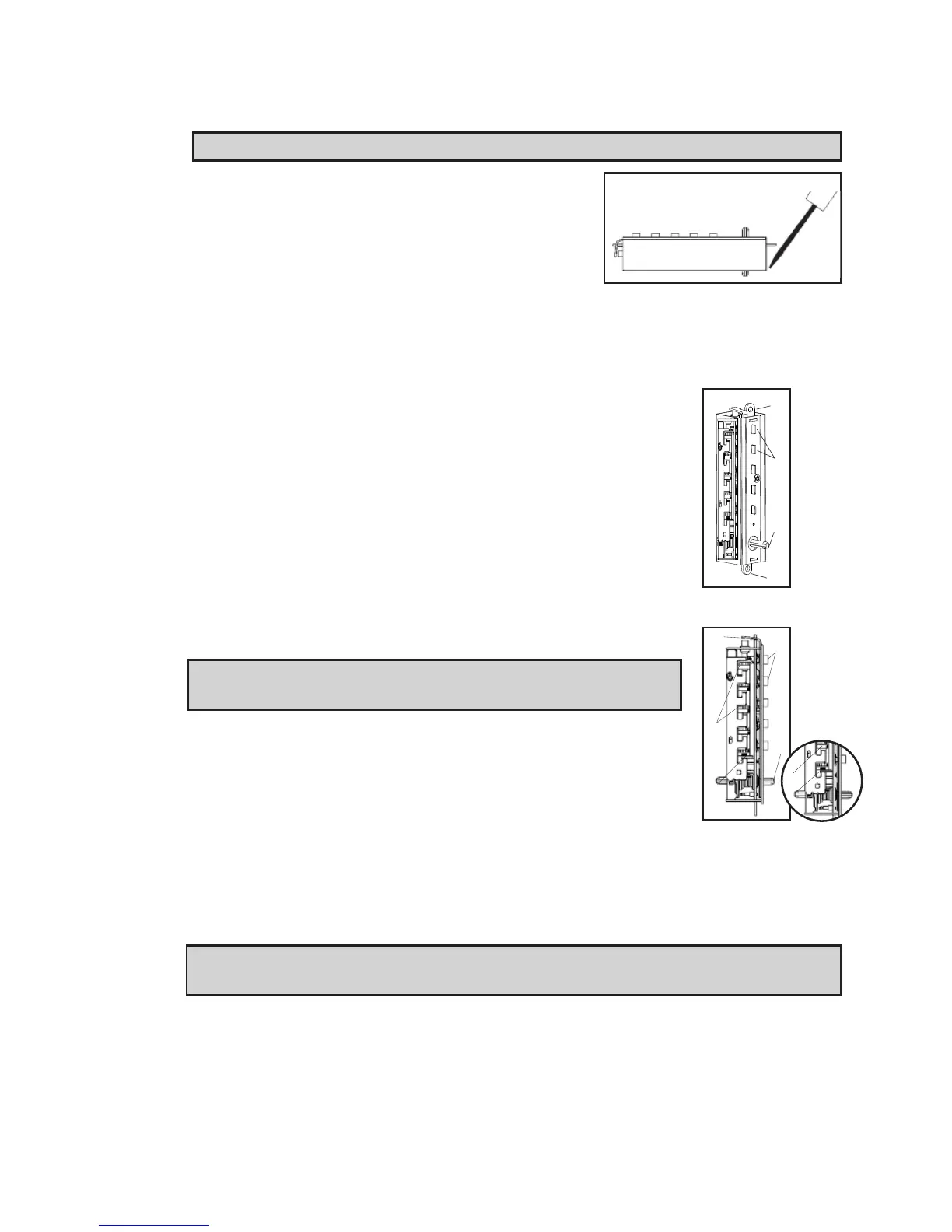
Remove the combination chamber, held by 2 screws, from the lock.
To remove the 3-sided dust cover marked
"Kaba,“Simplex," etc. place the combination
chamber in the position to the right.
E-1 Place a small screwdriver on the edge of the
3-sided dust cover and push down on the
screwdriver (See Figure 5-1). The cover
should pop loose. Once it does, pull the
cover off of the combination chamber.
E-2 Hold the chamber in one hand by the screw
tab (b) on each end with the key-stems (c)
facing you and the control shaft (d) at the
bottom (See Figure 5-2).
E-3 Using pliers or equivalent, rotate the control shaft (d)
counterclockwise and release to clear the chamber
(See Figure 5-2).
E-4 Look at the 5 code gears (e). If any code gear pockets
(f) are already at the shear line (open position), ignore
them. They are not used in the combination
(See Figure 5-3).
Note: Shear line (open position) references the “Lshaped
feet already align with the mating gear pocket.
E-5 Find the code gear pocket/s (e) that is farthest away
from the shear line (open position). Depress that key-
stem/s (c) and release (See Figure 5-3). If any digits in
the combination were depressed together (at the same
time), then they must also be depressed together to
reset the combination.
E-6 Find the code gear pocket/s (e) that is the next farthest away from the
shear line (open position). Depress that key-stem/s (c) and release (See
Figure 5-3).
Note: If any of the code gear pockets travel past the shear line, the key stems
have been depressed in the wrong sequence. Start over at E-3.
E-7 Repeat step E-6 until all code gear pockets (e) are at the shear line
(open position).
E-8 If all the code gear pockets (e) are not lined up at the shear line
(open position), start over at step E-3.
(
3 sided dust cover)
F
igure 5-1
Figure 5-2
Figure 5-3
f
g
c(5)
e(5)
d
b
d
b
c(5)
f
e

Related product manuals