EasyManua.ls Logo

Kaba Simplex 506 Series - Depressing Combination Change Button; Clearing Old Combination; Entering New Combination; Verifying New Combination

Kaba Simplex 506 Series
28 pages
Print Icon
To Next Page IconTo Next Page
To Next Page IconTo Next Page
To Previous Page IconTo Previous Page
To Previous Page IconTo Previous Page
Loading...
22
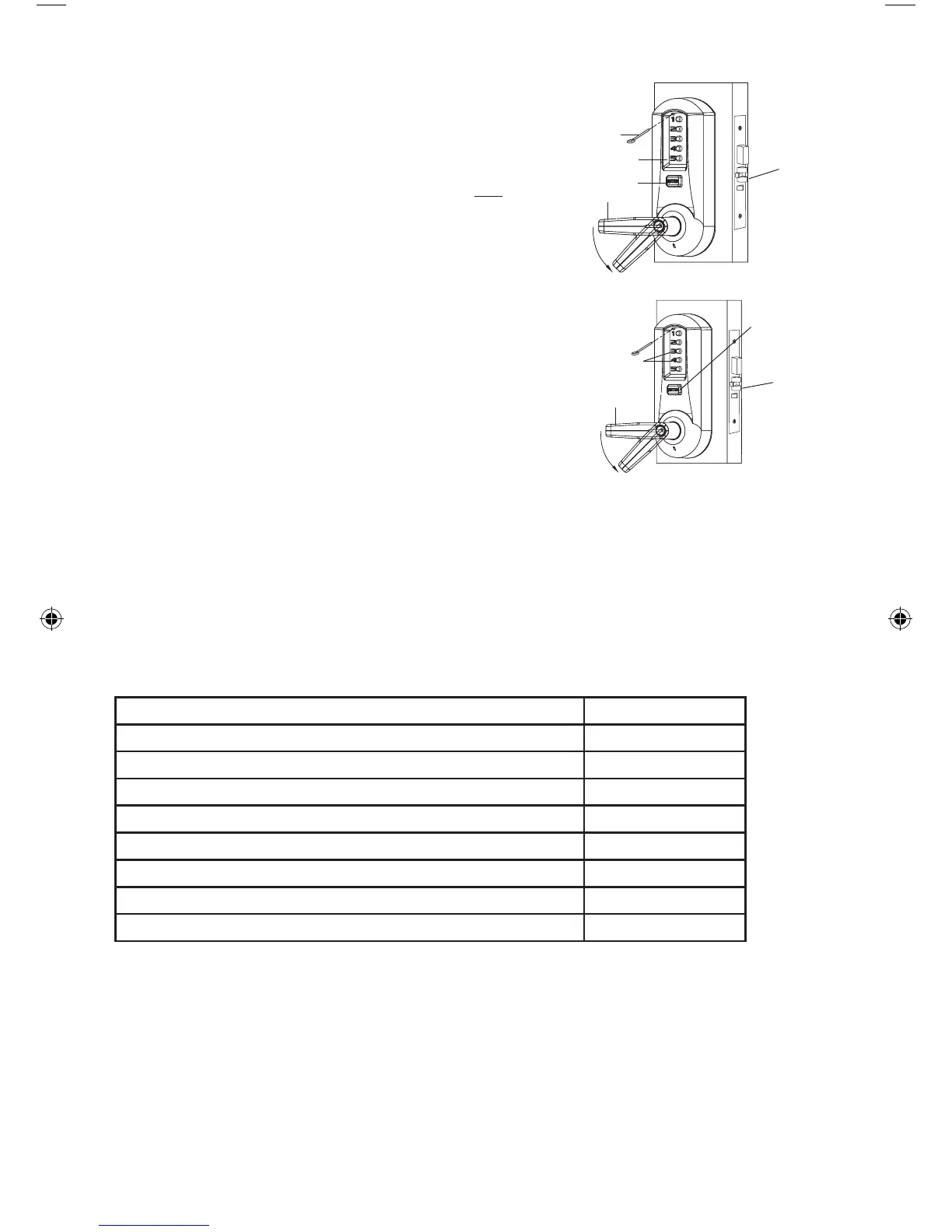
K-2 Insert the release tool (a) through hole in
number pad and gently lift up loop end of the
tool to depress the code change button until
you hear a click; remove tool and do not press
any buttons (proceed to K-3).
K-3 **This Step Is Very Important** Rotate lever (d)
once, and only once to clear the old combination; the
latch (e) will retract; release the lever.
K-4 Press in your new combination (b) followed by the
ENTER button (c) and release.
K-5 Rotate the lever (d) to verify that the mortise latch (e)
retracts confirming the validity of the new combination
(if you try the old combination now, it should not work).
IMPORTANT: The “ENTER” button must be depressed and released after
entering the combination. The latch will not retract until the “ENTER”
button is depressed and released.
COMBINATION SETTING RECORD
Combination Date
& ENTER
& ENTER
& ENTER
& ENTER
& ENTER
& ENTER
& ENTER
& ENTER
Caution: Check the operation of the latch by making sure that the
deadlatch stops against the strike and does not slide into the strike
opening when the door is closed. If that situation occurs, then a total
lockout may occur. This will void our warranty of the complete lock
mechanism. If necessary, correct the door over-travel by using the rubber
bumpers as described in Section M (Installing Rubber Bumpers).
c
c
b
b
a
d
d
e
e
LIT1051_Simplex_506x _Mortise_1012.indd 22 1/7/13 3:13 PM

Related product manuals