EasyManua.ls Logo

Kenwood DRV-430 - Page 14

Kenwood DRV-430
40 pages
Print Icon
To Next Page IconTo Next Page
To Next Page IconTo Next Page
To Previous Page IconTo Previous Page
To Previous Page IconTo Previous Page
Loading...
14
Recording Modes
The device has four recording modes. Turning on the power of the device starts continuous
recording. The recorded video is recorded as files to the SD card. The recording files are sorted into a
separate folder for each recording mode.
Continuous recordings
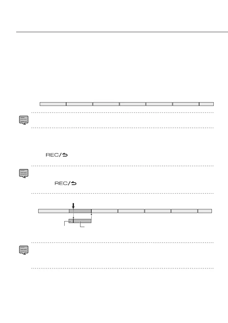
Turning on the power of the device starts continuous recording. In continuous recording mode,
files are deleted in order from the oldest to record when there is no recording area remaining.
Continuous
recording
Elapsed time
The recording data is saved to the continuous recordings folder.
The recording time of one file can be set in "Continuous recording file length" (
Á
P.20).
Manual recording
Pressing the [ ] button on the device during continuous recording starts manual
recording.
When manual recording ends, the mode returns to continuous recording.
The recording time of manual recording is the 10 seconds before manual recording plus
the time set in "Manual recording time" (
Á
P.20). If you wish to extend the recording time,
press the [ ] button again.
The recording time of one file is a maximum of one minute. If
the recording time exceeds one minute, the file is split to record.
Elapsed time
Continuous
recording
Records 10 seconds before
manual recording
Manual recording (set time)
The recording data is saved to the manual recordings folder.
When 10 files will be exceeded, manual recording cannot be performed (when 8 GB SD card). When
"Overwrite (manual)" is set to "ON," files are deleted in order from the oldest to record (
Á
P.20). Back
up the recording data you wish to keep to a PC or other device if necessary.
Basic Operations
Press the REC button
DRV-430_B5A-0959-01_EU_EN.indd 14 2017/12/21 12:13

Related product manuals