EasyManua.ls Logo

Knauer Smartline Pump 1000 - GLP Menu for Statistical Data; Accessing GLP Data

Knauer Smartline Pump 1000
95 pages
Print Icon
To Next Page IconTo Next Page
To Next Page IconTo Next Page
To Previous Page IconTo Previous Page
To Previous Page IconTo Previous Page
Loading...
16 Control of the Smartline Pump 1000
Using the GLP Menu
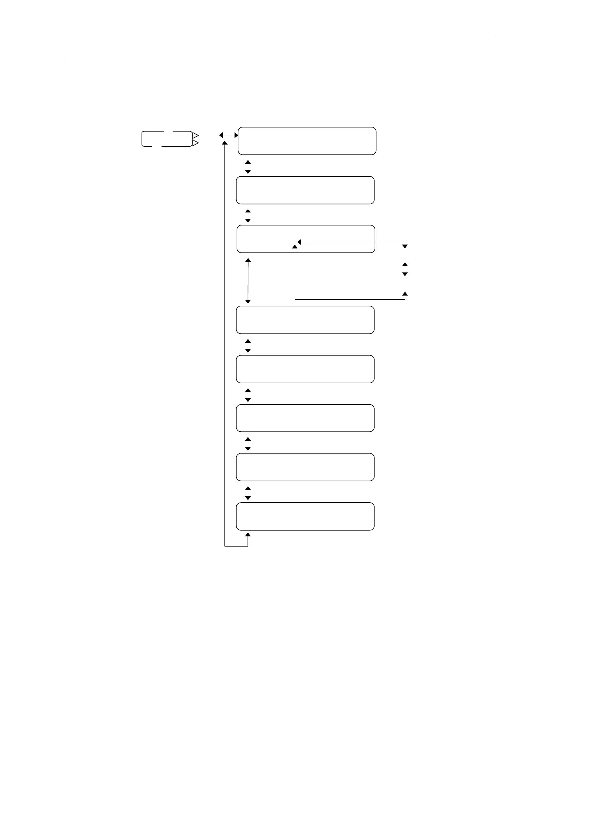
The GLP menu reports statistical data for essential parameters of the
Smartline Pump 1000. Fig. 13 gives an overview of the GLP menu.
ER
Date 13.01.03
12 Time 16.21.33
ERR Date 04.01.03
13 Time 09.58.52
GLP: Installation date
15.06.03
GLP: Total volume
3810.7 l
GLP: Last error codes
12 13
GLP: Last service
00.00.00 code: 0
GLP: Total pump cycles
210952
GLP: Power index
01511.8 MPah
GLP: VERSION: 1.0
Ser.No. 77777
GLP: Total working time
003522 h 02 m 09 s
Setup
GLP
Main menu
Fig. 13 Structure of the GLP menu
For an overview of error codes refer to the section “List of Display
Messages” on page 42.

Table of Contents

Related product manuals