EasyManua.ls Logo

KNF N 143 AV.12 E - Page 22

KNF N 143 AV.12 E
32 pages
Print Icon
To Next Page IconTo Next Page
To Next Page IconTo Next Page
To Previous Page IconTo Previous Page
To Previous Page IconTo Previous Page
Loading...
Servicing Diaphragm Pumps N 143/186.12
22 Translation of original Operating and Installation Instructions, english, KNF 121610-121613 07/16
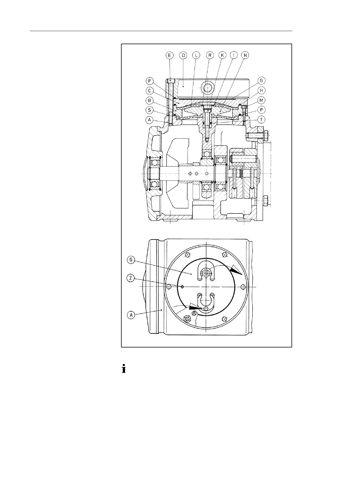
A Housing
B Intermediate ring
C Intermediate plate
D Head plate
E Hexagon socket head cap
screw
F O-ring
G Valve plate
H O-ring
I Retainer plate
K Hexagon socket head cap
screw
L Working diaphragm
M Hexagon socket head cap
screw
N Diaphragm support
P O-ring
R O-ring
S Safety diaphragm
T O-ring
Z Dowel pin/Roll pin
Fig. 9: Pump parts
The following item numbers refer to Fig. 9, unless otherwise
indicated.
Disassembling
1. Take the steps necessary to gain access to the motor cooling
fan:
Undo the screws that hold the fan cover. For one-headed
pumps: Fig. 1/7, p. 11; for two-headed pumps: Fig. 2/7, p. 11
or Fig. 3/7, p. 12 and remove the fan cover.