EasyManua.ls Logo

Komatsu 06253 - Page 44

Komatsu 06253
447 pages
Print Icon
To Next Page IconTo Next Page
To Next Page IconTo Next Page
To Previous Page IconTo Previous Page
To Previous Page IconTo Previous Page
Loading...
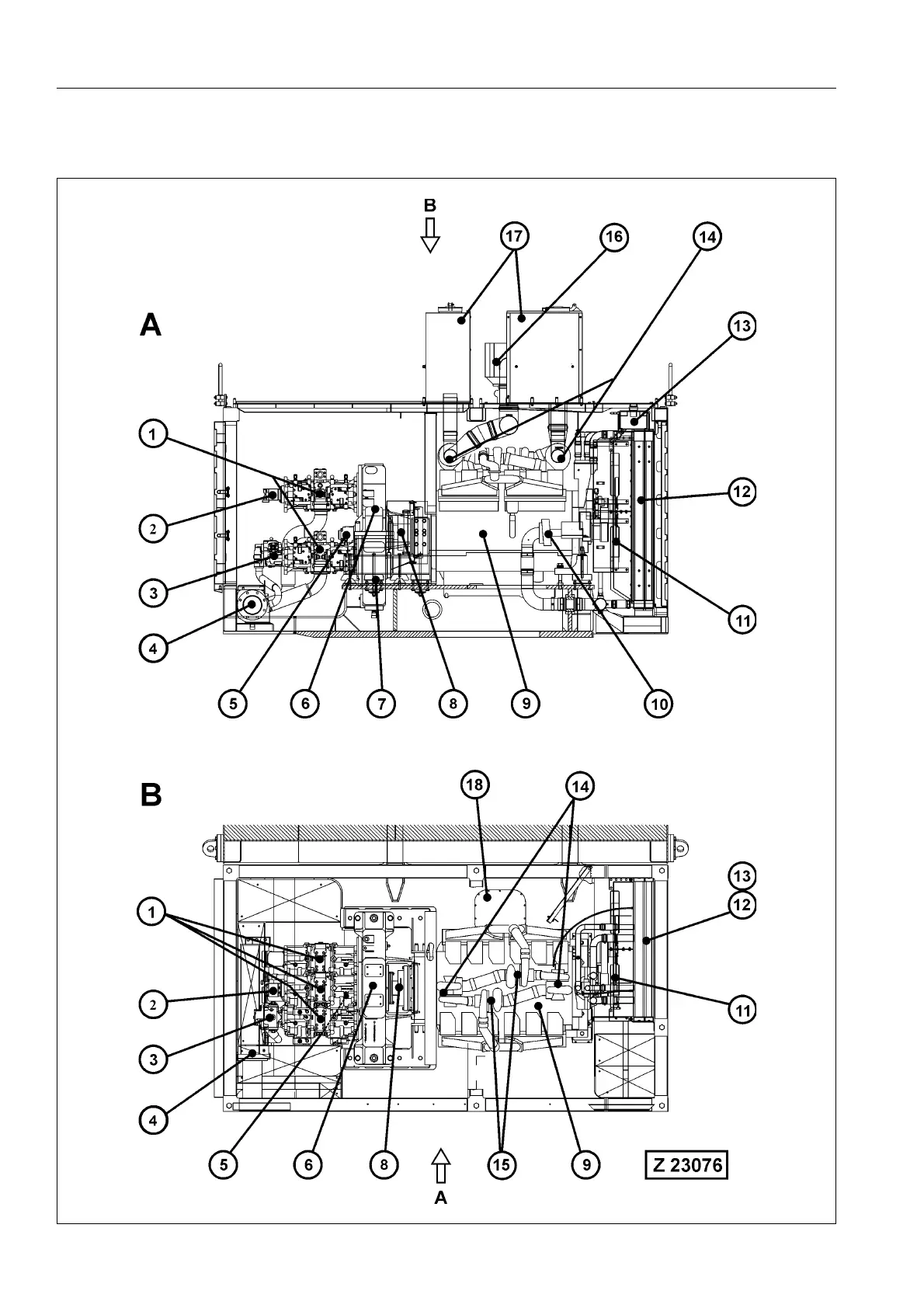
3.2 CONSTRUCTION OF THE SHOVEL OPERATION
44
MACHINERY HOUSE

Table of Contents

Related product manuals