EasyManua.ls Logo

Komatsu 06253 - Emergency Escape Ladder and Escape Hatch in the Machinery House (Special Equipment); (Special Equipment)

Komatsu 06253
447 pages
Print Icon
To Next Page IconTo Next Page
To Next Page IconTo Next Page
To Previous Page IconTo Previous Page
To Previous Page IconTo Previous Page
Loading...
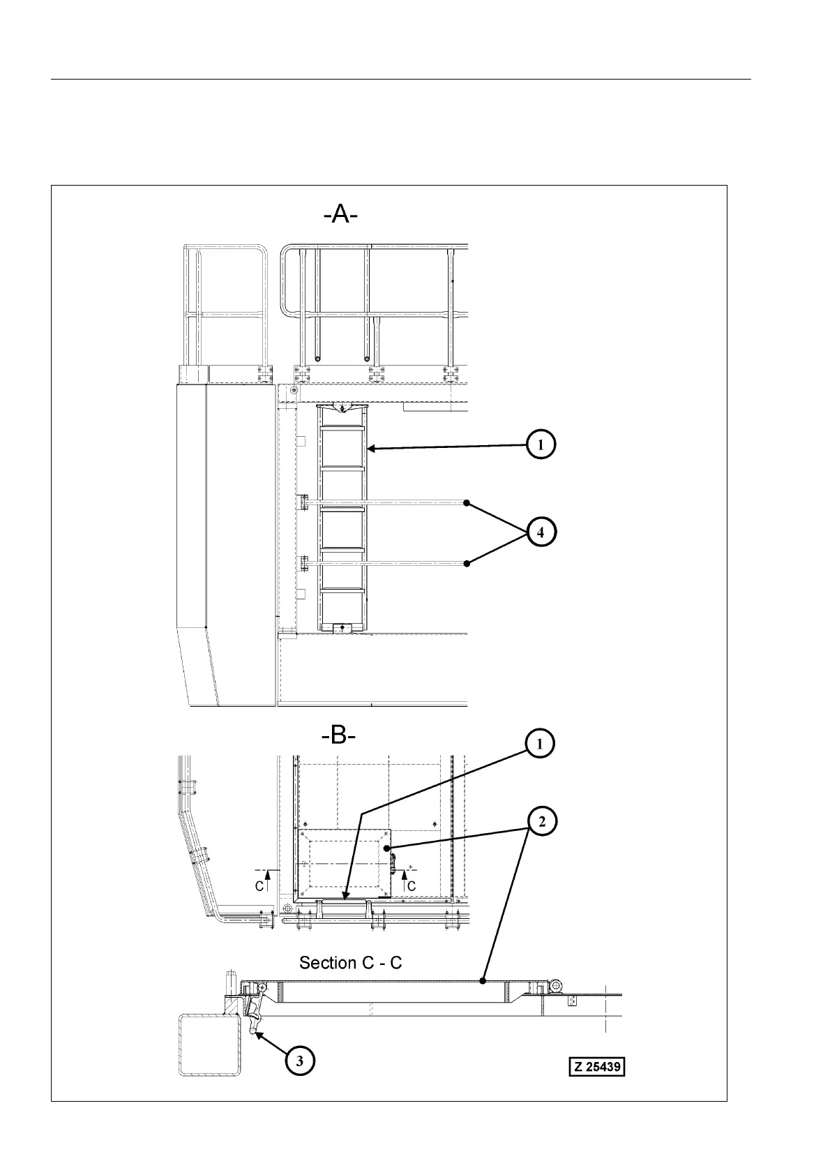
3.2 CONSTRUCTION OF THE SHOVEL OPERATION
52
3.2.5 EMERGENCY ESCAPE LADDER AND ESCAPE HATCH IN THE
MACHINERY HOUSE (SPECIAL EQUIPMENT)

Table of Contents

Related product manuals