EasyManua.ls Logo

Komatsu 06253 - Operators Cab with Integrated Falling Object Protective Structure (Fops)

Komatsu 06253
447 pages
Print Icon
To Next Page IconTo Next Page
To Next Page IconTo Next Page
To Previous Page IconTo Previous Page
To Previous Page IconTo Previous Page
Loading...
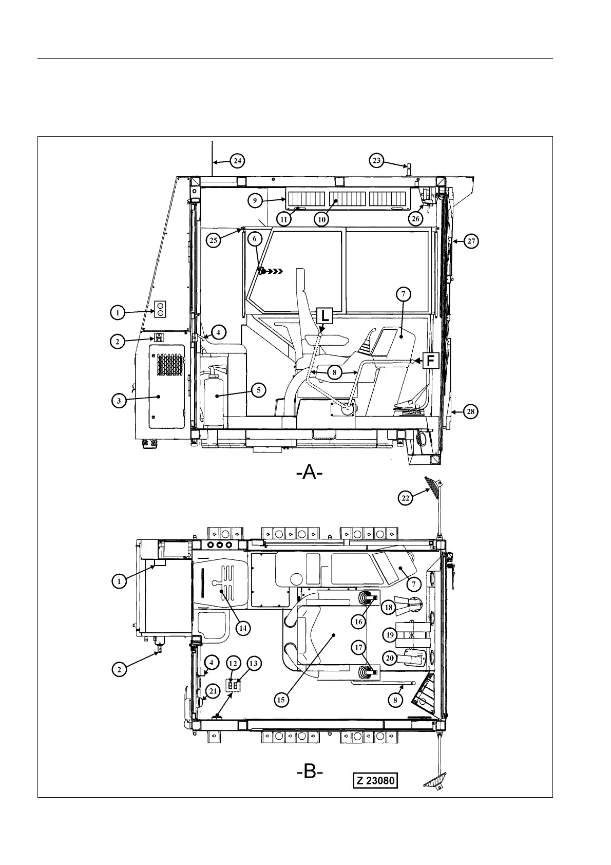
3.2 CONSTRUCTION OF THE SHOVEL OPERATION
56
3.2.7 OPERATOR’S CAB WITH INTEGRATED FALLING OBJECT
PROTECTIVE STRUCTURE (FOPS)

Table of Contents

Related product manuals