EasyManua.ls Logo

Korg D1600 - Record; P1 Recmode: Selecting the Recording Mode

Korg D1600
152 pages
Print Icon
To Next Page IconTo Next Page
To Next Page IconTo Next Page
To Previous Page IconTo Previous Page
To Previous Page IconTo Previous Page
Loading...
80
If you press the “ ” button, you can select the drive
from a list. (p.22, 77: P5-4)
2. Device Type, Total Size..................... (HDD, RMD, CD)
This shows the type and capacity of the drive.
HDD: Hard disk drive
RMD: Removable disk drive
CD: CD-ROM, CD-R, CD-RW
CD media can be used only when “LoadSystem” is
selected for “SelOperation.”
3. Format Type........ (P, B, D8[B], D12[P], D12[B], Audio)
This displays the format type of the drive.
The internal drive of the D1600 and external drives
that were initialized or formatted by the D1600 will
be displayed as “playable” drives that can be used
to create and play songs. All other drives will be
displayed as “backup” drives.
[P] (Playable type): A disk for creating/playing
D1600, D16 songs
[B] (Backup type): A disk for backing up D1600,
D16 data
D8[B]: D8 backup disk
D12[P]: D12 playable disk
D12[B]: D12 backup disk
Audio: Audio CD
It is not possible to format, initialize, or check an
audio CD.
4. SelOperation ........................[EjectRMD, CheckDrive,
Initialize, Format, LoadSystem]
Select the operation that you wish to execute on the
drive.
Press the “ ” button and select from the list.
EjectRMD: The removable disk selected by
“DriveID” will be ejected.
If the currently selected song is on the removable
disk, the disk will be locked by the D1600, and must
be ejected using this command. Otherwise, you can
also use the eject switch of the drive to eject the
disk. (p.68)
CheckDrive: Errors on the drive selected by “Drive
ID” will be detected and repaired.
Execute this operation if Disk or DiskBusy error
messages appear frequently. After execution, the
song data will still be usable if no major errors were
found on the drive.
Full SW.................................................... [ON, OFF]
Specify the area that will be checked by Check
Drive.
ON: The entire area will be checked and repaired.
OFF: 2 GB of unused area will be checked and
repaired.
Check Drive requires a certain amount of time
for completion. If you are using the Korg HDD-
20G drive, the following times will be required.
Full SW ON: 240 minutes. Full SW OFF: 30 min-
utes.
Initialize: The drive selected by “Drive ID” will be
initialized.
Format: The drive selected by “Drive ID” will be
formatted.
Force .........................................................[On, Off]
This setting allows a disk to be formatted or ini-
tialized even if it contains a protected song.
On: Even if the disk contains a song protected by
“Protect Song,” initialization will be performed
forcibly.
Off: If the disk contains a song protected by
“Protect Song,” a message of “Song Protect” will
be displayed when you attempt to initialize, and
the command will be aborted.
LoadSystem: System software will be loaded from
the drive selected by “Drive ID” to rewrite the oper-
ating system of the D1600. For details refer to
“Updating the system software” (p.139).
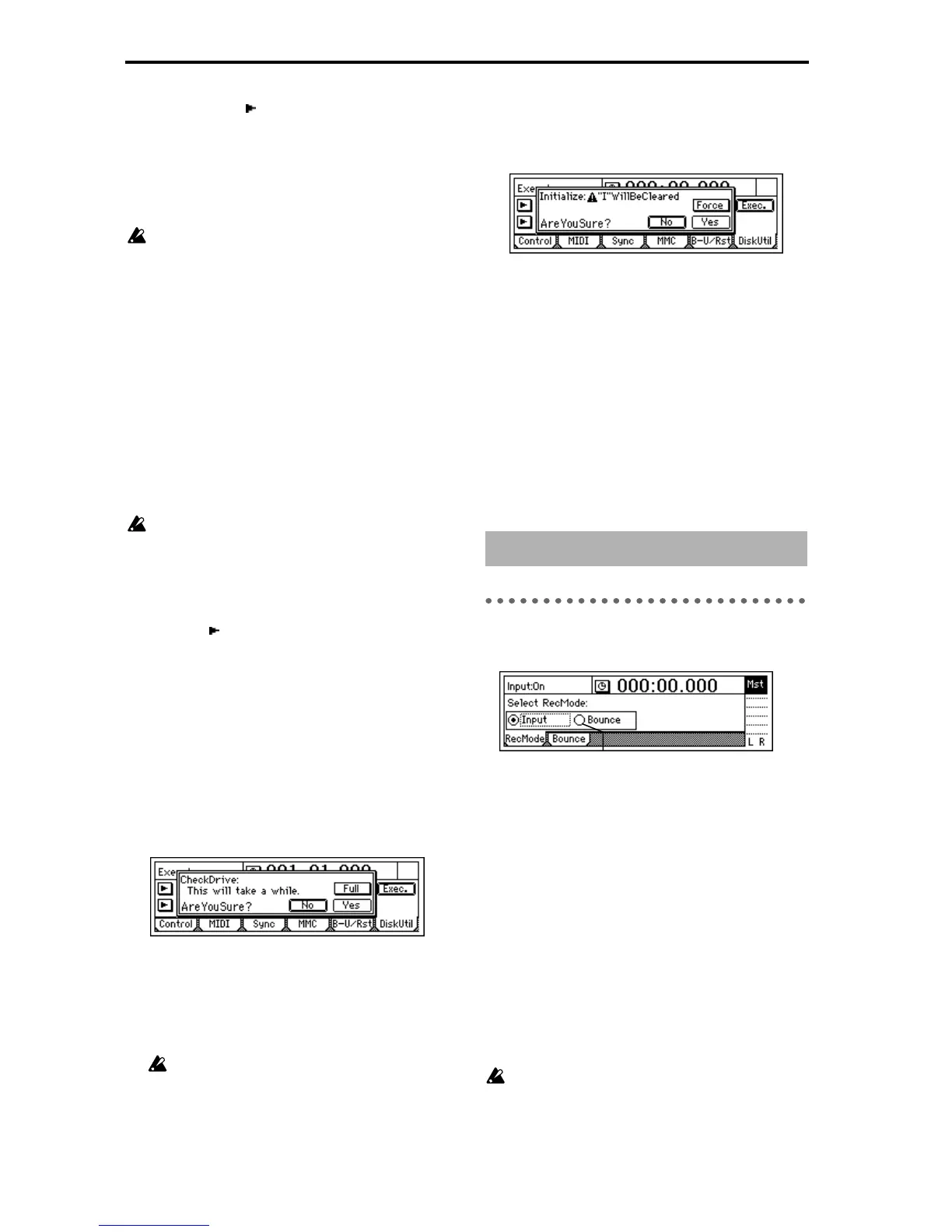
P1 RecMode: Selecting the
recording mode
1. Select RecMode .................................[Input, Bounce]
Select the recording mode.
Input: The input (analog, digital, internal rhythm,
internal CD) will be recorded. The recording level of
each track is adjusted by the channel faders. Select
this for normal recording.
Bounce: The master LR bus will be recorded. The
playback level of each track is adjusted by the chan-
nel faders, and the recording level is adjusted by the
master faders.
You will select this mainly for the following situa-
tions.
Pingpong recording (combining multiple tracks
to two tracks)
Recording the sound processed by the master
effect
Recording multiple inputs on two tracks.
When “Bounce” is selected, a maximum of two
tracks can be recorded simultaneously.
3. RECORD
1

Table of Contents

Other manuals for Korg D1600

Related product manuals