EasyManua.ls Logo

Lennox CLIMATIC II

Lennox CLIMATIC II
94 pages
To Next Page IconTo Next Page
To Next Page IconTo Next Page
To Previous Page IconTo Previous Page
To Previous Page IconTo Previous Page
Loading...
V2.2
-00
61
KP07 VDU CONSOLE
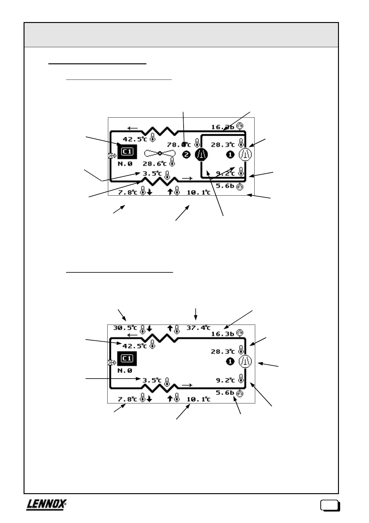
III.5. Refrigeration diagrams
III.5.a. Groupes à condensation par air
III.5.b. Water cooled condensers
Condensation pressure
Condensation
temperature
Evaporation
temperature
Ambient air
temperature
Discharge temperature on
compressor no. 2 (if applicable)
Discharge
temperature on
compressor no.1
Operating states of circuit
compressors
Air intake
temperature
Evaporation
pressure
Temperature of chilled
water input
Temperature of
chilled water output
Condensation pressure
Condensation
temperature
Evaporation
temperature
Discharge
temperature on
compressor
Operating state of
compressor
Air intake
temperature
Evaporation
pressure
Chilled water input
temperature
Chilled water output
temperature
Hot water input
temperature
Hot water output
temperature

Table of Contents

Related product manuals