EasyManua.ls Logo

Lexington Forge CONCORDE C28DV - ELECTRICAL INSTALLATION; Wiring and Remote Switch Installation

Lexington Forge CONCORDE C28DV
40 pages
Print Icon
To Next Page IconTo Next Page
To Next Page IconTo Next Page
To Previous Page IconTo Previous Page
To Previous Page IconTo Previous Page
Loading...
24 45D0028
45D0028 25


 
 







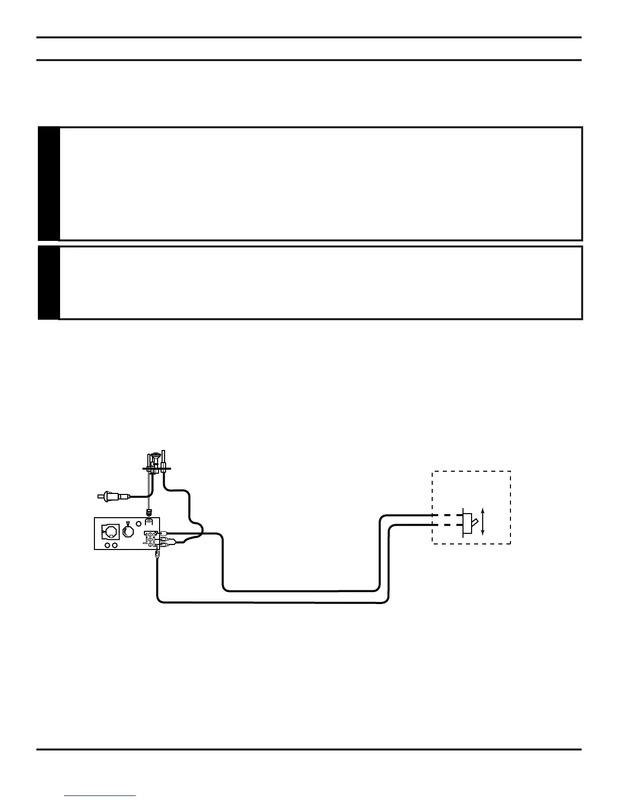
REMOTE WALL MOUNTED SWITCH
A remote wall switch and up to fteen (15) feet of 18 Ga. wire may be used with this appliance. Attach the wall switch in a junc-
tion box at the desired location on the wall. See Figure 30. Do not extend beyond the wall switch wire length provided.
NOTE: Extended lengths of wire may cause the fireplace not to function properly. Longer length of wire
is permitted if the wire is made out of larger gauge (diameter) wire. Always check with local code.
Figure 30 - Wiring Diagram for Wall Switch
ELECTRICAL INSTALLATION
ELECTRICAL WIRING
Electrical connections should only be performed by a qualified, licensed electrician.
Main power must be off when connecting to main electrical power supply or performing
service. All wiring shall be in compliance with all local, city, and state codes. The
appliance, when installed, must be electrically grounded in accordance with local
codes, or in the absence of local codes, with the National Electrical Code ANSI/ NFPA
70 (latest edition) and Canadian Electrical Code, CSA C22.1.
WARNING
Label all wires before disconnecting when servicing controls. Wiring errors can cause
improper and dangerous operation.
CAUTION
Verify proper operation after servicing.
This stove will work without any electrical supply. Electricity is only needed if you install a remote wall mounted switch.
NOTE: If installed in mobile home, stove must be bolted securely to floor.

Related product manuals