EasyManua.ls Logo

Lexmark MX910de - Assembly 14: Tray 1 Feed

Lexmark MX910de
827 pages
Print Icon
To Next Page IconTo Next Page
To Next Page IconTo Next Page
To Previous Page IconTo Previous Page
To Previous Page IconTo Previous Page
Loading...
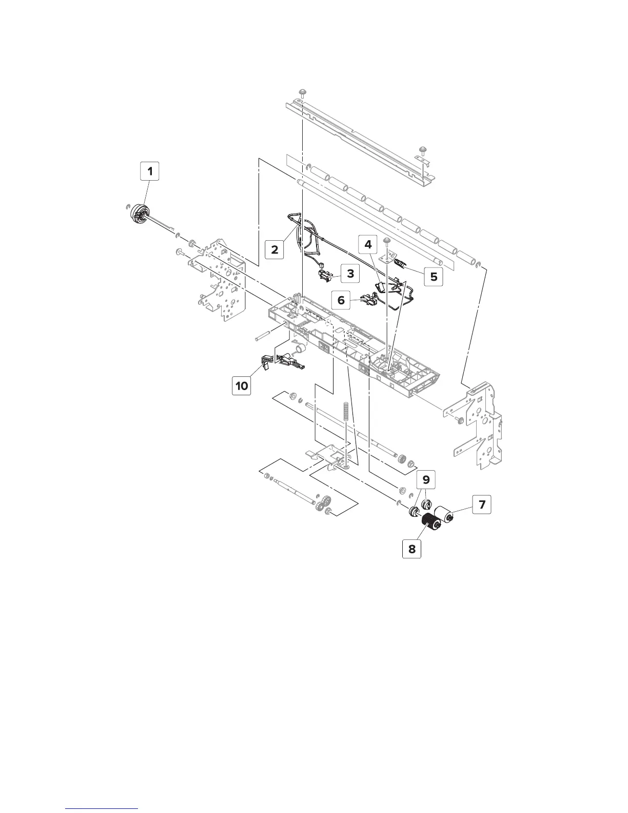
Assembly 14: Tray 1 feed
7421
Parts catalog
569

Table of Contents

Related product manuals