EasyManua.ls Logo

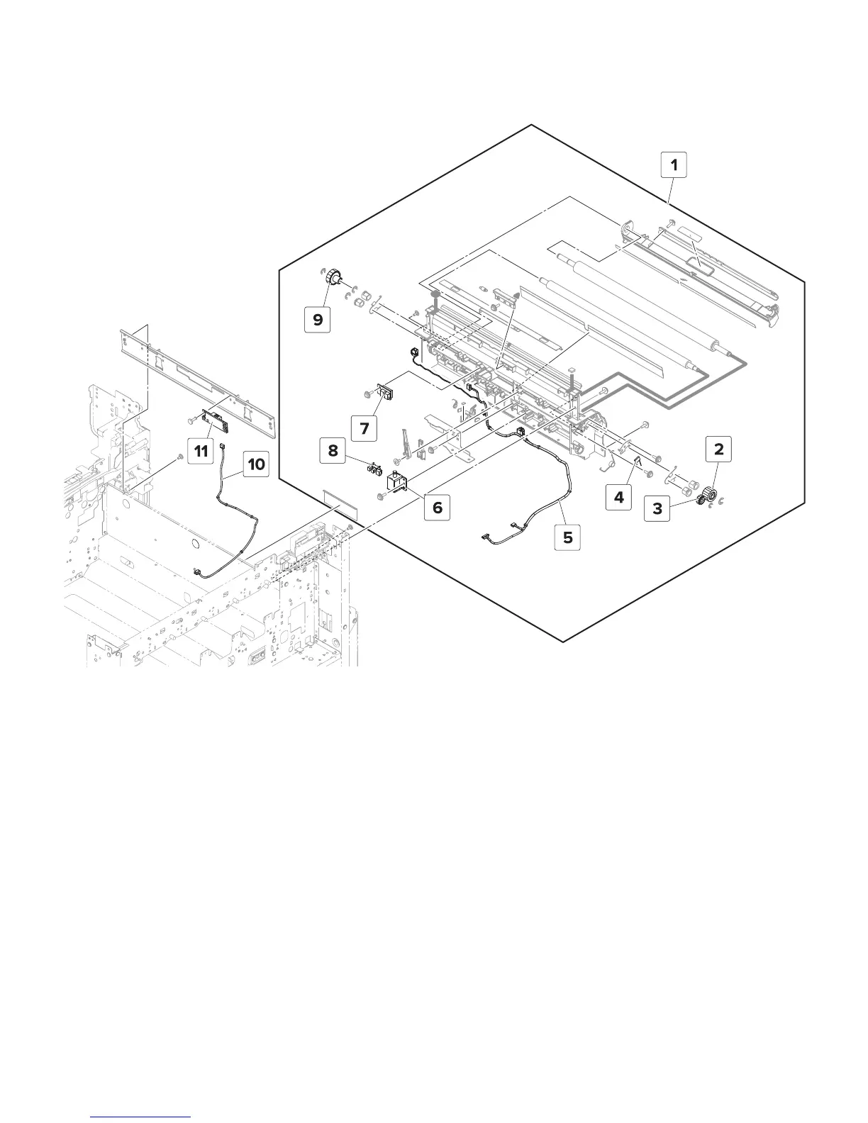
Lexmark MX910de - Assembly 23: Registration Transport

Lexmark MX910de
827 pages
Print Icon
To Next Page IconTo Next Page
To Next Page IconTo Next Page
To Previous Page IconTo Previous Page
To Previous Page IconTo Previous Page
Loading...
Assembly 23: Registration transport
7421
Parts catalog
587

Table of Contents

Related product manuals