EasyManua.ls Logo

Lexmark X463 - Lexmark W850, X860 De, X862 De and X864 De Optional Standard Finisher

Lexmark X463
119 pages
Print Icon
To Next Page IconTo Next Page
To Next Page IconTo Next Page
To Previous Page IconTo Previous Page
To Previous Page IconTo Previous Page
Loading...
5.2.2.2 Lexmark W850, X860de, X862de and X864de Optional Standard Finisher
The optional Standard Finisher supports Corner staple and Dual staple (IPDS Edge stitch). The printer
automatically rotates the text 180 degrees for short-edge fed paper and 90 degrees for long-edge fed
paper. If necessary, reformat your job on the host with a different text orientation to avoid stapled sets
that are hard to read. Refer to your printer or finisher documentation to determine the staple location for
various paper sizes.
See Lexmark X860de, X862de and X864de MFPs Optional Advanced Finisher Functions (on page 60)
for information on additional functions supported.
Below are examples of job output statements that include the Form Definition to place staples in the
printed output.
Corner staple
//OUT1 OUTPUT CLASS=C,COPIES=1,FORMDEF=FC0010
Dual staple
//OUT1 OUTPUT CLASS=C,COPIES=1,FORMDEF=FE0010
Sending form definitions that specify invalid staple locations may cause an exception to be reported to the
host.
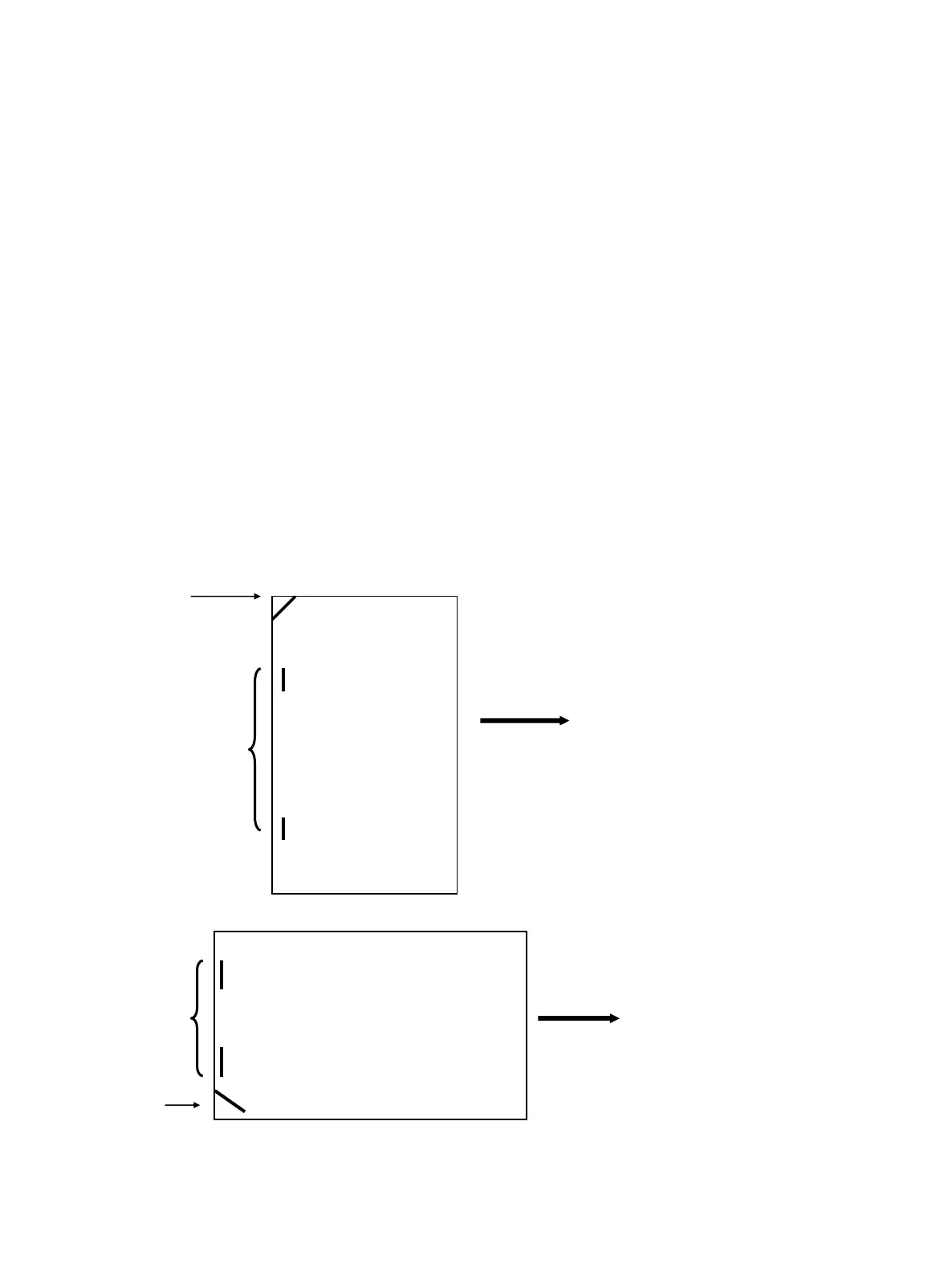
Drawings of staple placement for simplex form definitions
TEXT
Text, text. Text
xxxxx
FC0010
TEXT
Text
Text text text
FC0010
FE0010
Text is shown with 0
degree rotation
specified in IPDS job
FE0010
Long-edge fed paper,
leading edge
Text is shown with 0
degree rotation
specified in IPDS job
Short-edge fed
paper, leading edge
59

Table of Contents

Other manuals for Lexmark X463

Related product manuals